EasyManua.ls Logo

Onkyo TX-SR876

Onkyo TX-SR876
285 pages
To Next Page IconTo Next Page
To Next Page IconTo Next Page
To Previous Page IconTo Previous Page
To Previous Page IconTo Previous Page
Loading...
IC BLOCK DIAGRAMS AND TERMINAL DESCRIPTIONS -67
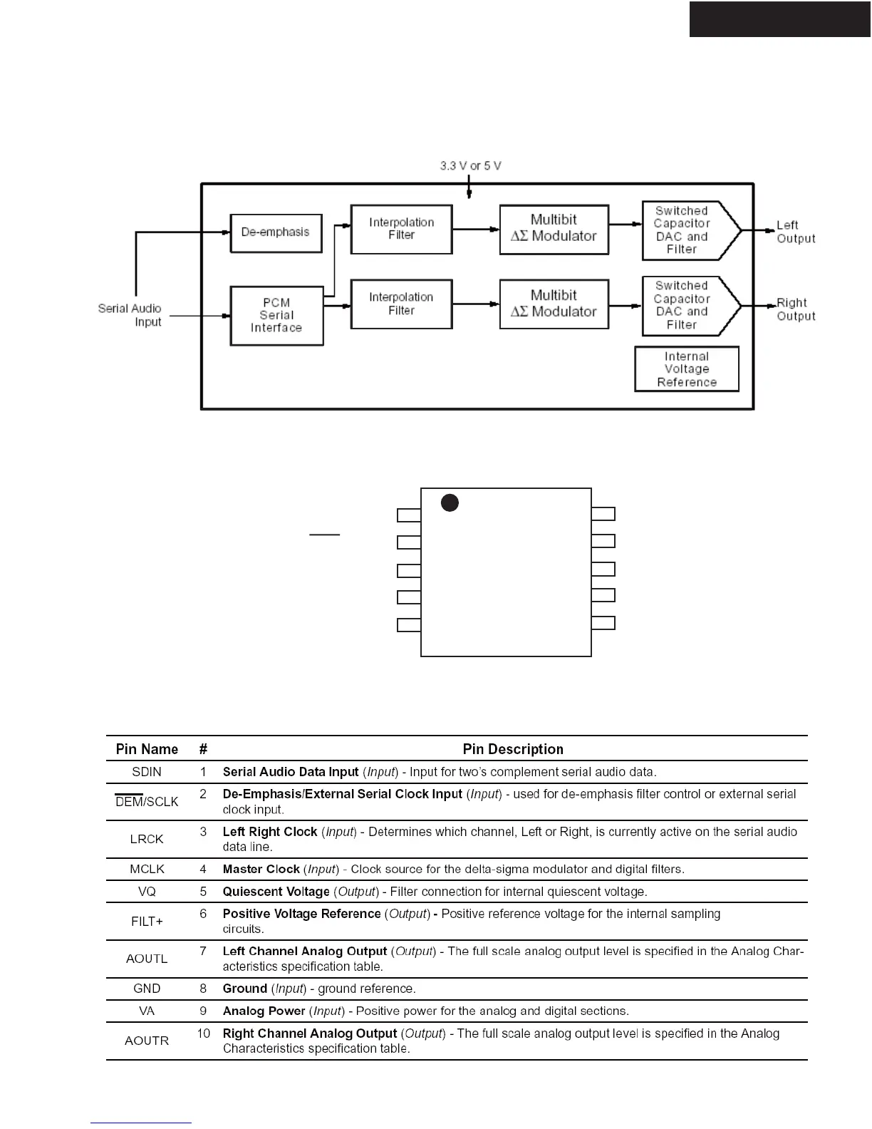
Q101: CS4344-CZZR (24bit, 192kHz, Stereo, DAC)
BLOCK DIAGRAM
PIN CONFIGURATION
TERMINAL DESCRIPTION
TX-SR876/SA876
1
2
3
4
5
10
9
8
7
6
AOUTR
VA
VQ
SDIN
LRCK
MCLK
GND
AOUTL
FILT+
DEM/SCLK

Table of Contents

Other manuals for Onkyo TX-SR876

Related product manuals