EasyManua.ls Logo

Onkyo TX-SR876

Onkyo TX-SR876
285 pages
To Next Page IconTo Next Page
To Next Page IconTo Next Page
To Previous Page IconTo Previous Page
To Previous Page IconTo Previous Page
Loading...
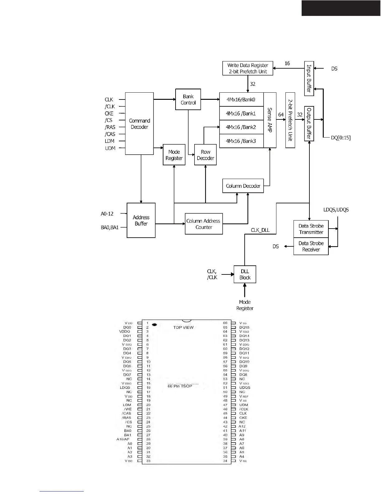
U8027, U8028, U8029, U8030: HY5DU561622ETP (256 Mbit DDR SDRAM)
IC BLOCK DIAGRAMS AND TERMINAL DESCRIPTIONS -41
TX-SR876/SA876
BLOCK DIAGRAM
PIN CONFIGURATION

Table of Contents

Other manuals for Onkyo TX-SR876

Related product manuals