EasyManua.ls Logo

Panasonic CZ-RTC4 - Changing the Program Timer

Panasonic CZ-RTC4
68 pages
Print Icon
To Next Page IconTo Next Page
To Next Page IconTo Next Page
To Previous Page IconTo Previous Page
To Previous Page IconTo Previous Page
Loading...
11
(EN)
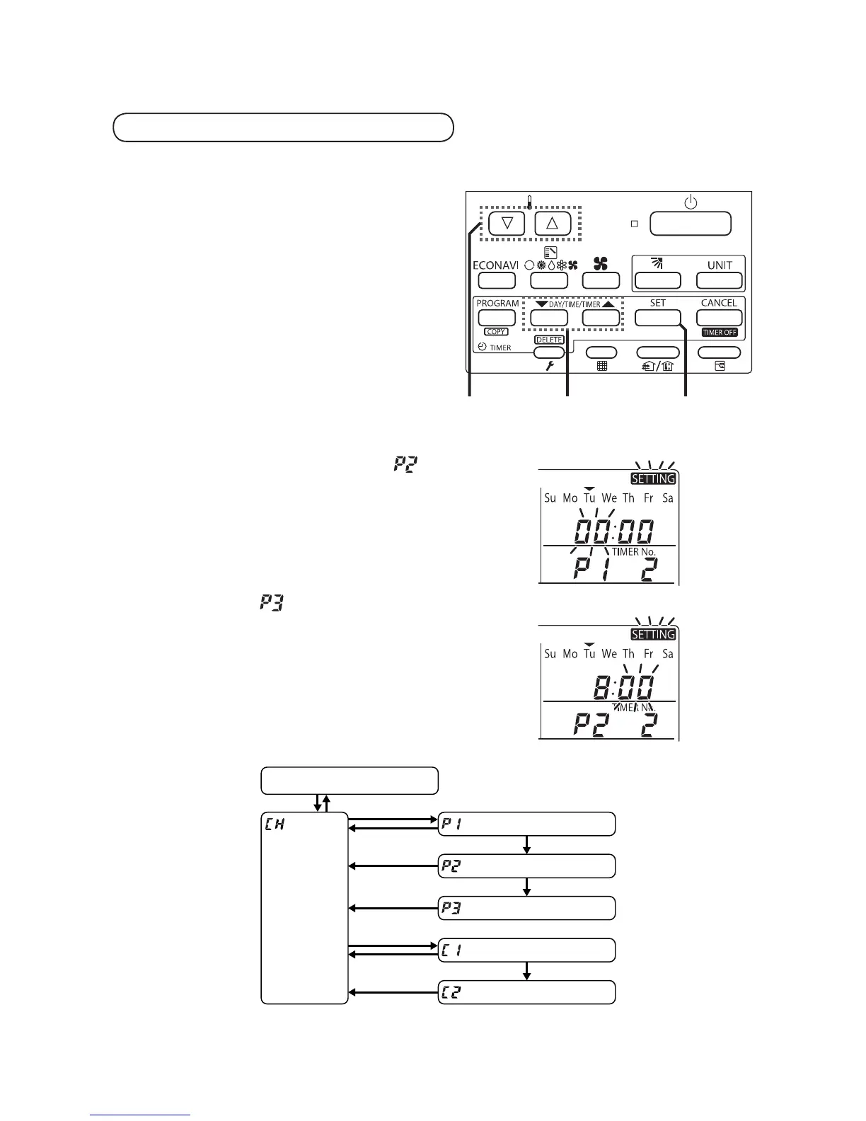
Changing the Program Timer
To set the weekly program, follow the steps.
1
Select the program you want to
set in the program con rmation
mode, and press [SET]. This enters
the setting mode of the program
currently displayed.
* In the program setting mode, [SETTING],
“hour”, “minute”and “item” ash on the
display.
A
2 / 3 / 44 1 / 2 / 3 / 4
Program step1
Program step2
2
Set the “hour”. (Program step 1)
Press [/] to set the “hour”.
Con rm the “hour” and press [SET]. This
enters the program changing mode
(setting of the “minute”).
3
Set the “minute”. (Program step 2)
Press [/] to set the “minute”.
Con rm the “minute” and press [SET].
The unit enters (the program pattern
selection mode).
SET
SET
SET
SET
CANCEL,DEL
normal remote controller
program check
PROGRAM CANCEL
CANCEL,DEL
CANCEL
PROGRAM
SET,CANCEL,DEL
SET,CANCEL
Program
Changing hour digits
Changing minute digits
Changing patterns
Selecting copy source
Selecting copy destination
Weekly Program Function

Other manuals for Panasonic CZ-RTC4

Related product manuals