EasyManua.ls Logo

Panasonic DMR-ES40VP

Panasonic DMR-ES40VP
123 pages
To Next Page IconTo Next Page
To Next Page IconTo Next Page
To Previous Page IconTo Previous Page
To Previous Page IconTo Previous Page
Loading...
30
10 Disassembly and Assembly Instructions
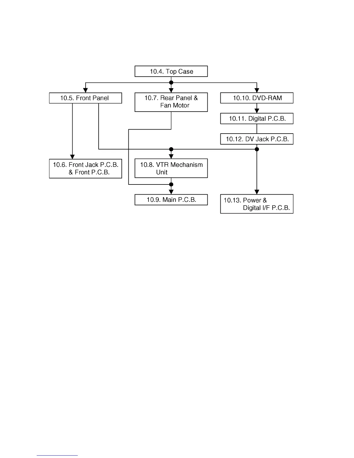
10.1. Disassembly Flow Chart
The following chart is the procedure for disassembling the casing and inside parts for internal inspection when carrying out the ser-
vicing.
To assemble the unit, reverse the steps shown in the chart below.

Table of Contents

Related product manuals