EasyManua.ls Logo

Panasonic KX-FLB802CX - Page 292

Panasonic KX-FLB802CX
323 pages
Print Icon
To Next Page IconTo Next Page
To Next Page IconTo Next Page
To Previous Page IconTo Previous Page
To Previous Page IconTo Previous Page
Loading...
292
KX-FLB802CX/KX-FLB812CX/KX-FLB802CXS/KX-FLB812CXS
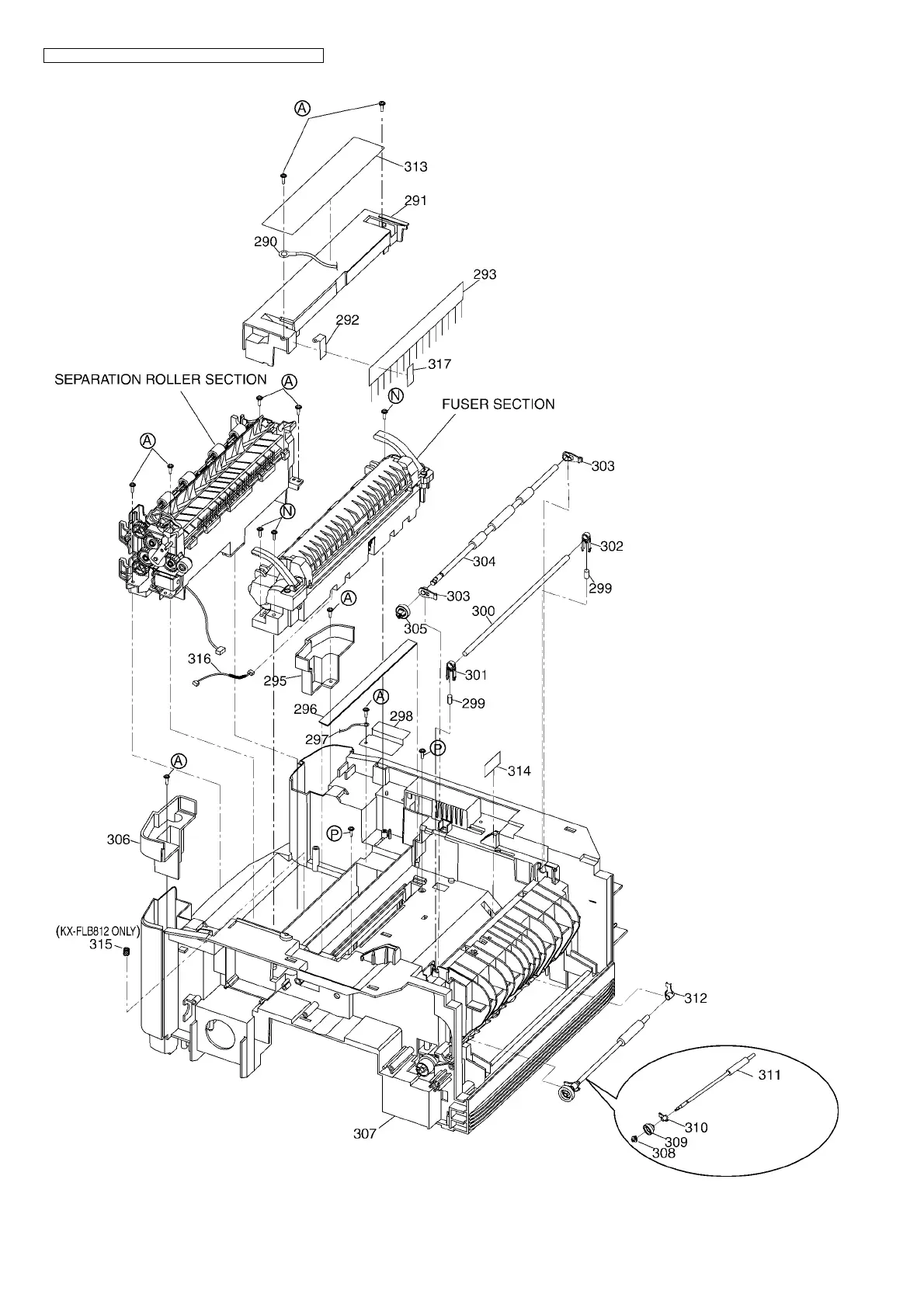
19.1.8. UPPER CABINET SECTION

Table of Contents