EasyManua.ls Logo

Panasonic KX-FPG381

Panasonic KX-FPG381
106 pages
To Next Page IconTo Next Page
To Next Page IconTo Next Page
To Previous Page IconTo Previous Page
To Previous Page IconTo Previous Page
Loading...
1. Introduction and Installation
11
For Fax Advantage assistance, call 1-800-435-7329.
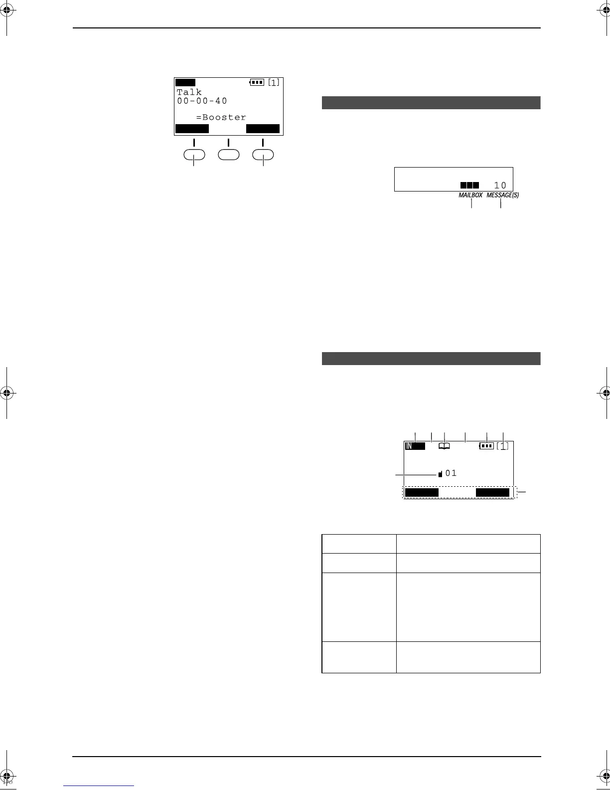
displayed above the keys will change
depending on the state of usage.
For example, PRIVACY is displayed
above the left soft key (1) and MUTE is
displayed above the right soft key (2).
To operate PRIVACY feature, press the
left soft key (1).
To operate MUTE feature, press the right
soft key (2).
L When a feature does not appear above a
soft key, the soft key will not work.
B {TALK}
L To make/answer calls (page 34, 35).
C {SP-PHONE}
L For speakerphone operation (page 34,
35).
D {TONE}
L To change from pulse to tone temporarily
during dialing when your line has rotary
pulse services.
E {CONF/FUNCTION}
L To make a conference call (page 47).
L To initiate programming (page 73).
F Navigator, {LOUD/SEARCH}
L To search for a stored item (page 37).
L To select features or feature settings
during programming (page 74).
L To navigate to the next operation.
L To adjust volume (page 27).
G {OFF}
L To hang up (page 34, 35).
L To stop an operation or programming.
H {HOLD/CLEAR}{INTERCOM/TRANSFER}
L To put a call on hold (page 34).
L To clear a digit (page 37).
L To page or locate another handset (page
45).
L To transfer a call (page 46).
I {FLASH/CALL WAIT}
L To access special telephone services
such as call waiting (page 40) or for
transferring extension calls.
L The flash time can be changed (feature
#72 on page 72, or page 75).
J {PAUSE/REDIAL}
L To redial one of the last 5 numbers dialed
from the handset (page 34).
L To insert a pause during dialing.
1.6 Description of base
unit display
1.7 Description of handset
display
IN USE
PRIVACY
MUTE
1
Example:
2
<
1 MAILBOX icons
L An icon will flash when there is at least
one new message in its mailbox (page
62).
L An icon will light when there are only old
messages in its mailbox.
2 MESSAGE(S)
L The total number of recorded messages
will be displayed (page 62).
1 IN USE icon
Off (invisible) The line is free.
On The line is being used.
Flashing A call is on hold within this
system (handset or base
unit) or the answering
machine is responding to a
call.
Flashing
quickly
Someone is calling you.
1 32
1 2
Example:
SP
PRIVACY
[ ]
IN USE
PRIVACY
PLAY
1 2 33
7
8
456
Example:
0519_FPG381.book Page 11 Monday, May 19, 2003 6:46 PM

Table of Contents

Related product manuals