EasyManua.ls Logo

Panasonic KX-FT982LS-B - Block Diagram

Panasonic KX-FT982LS-B
194 pages
Print Icon
To Next Page IconTo Next Page
To Next Page IconTo Next Page
To Previous Page IconTo Previous Page
To Previous Page IconTo Previous Page
Loading...
22
KX-FT982LS-B / KX-FT984LS-B / KX-FT988LS-B
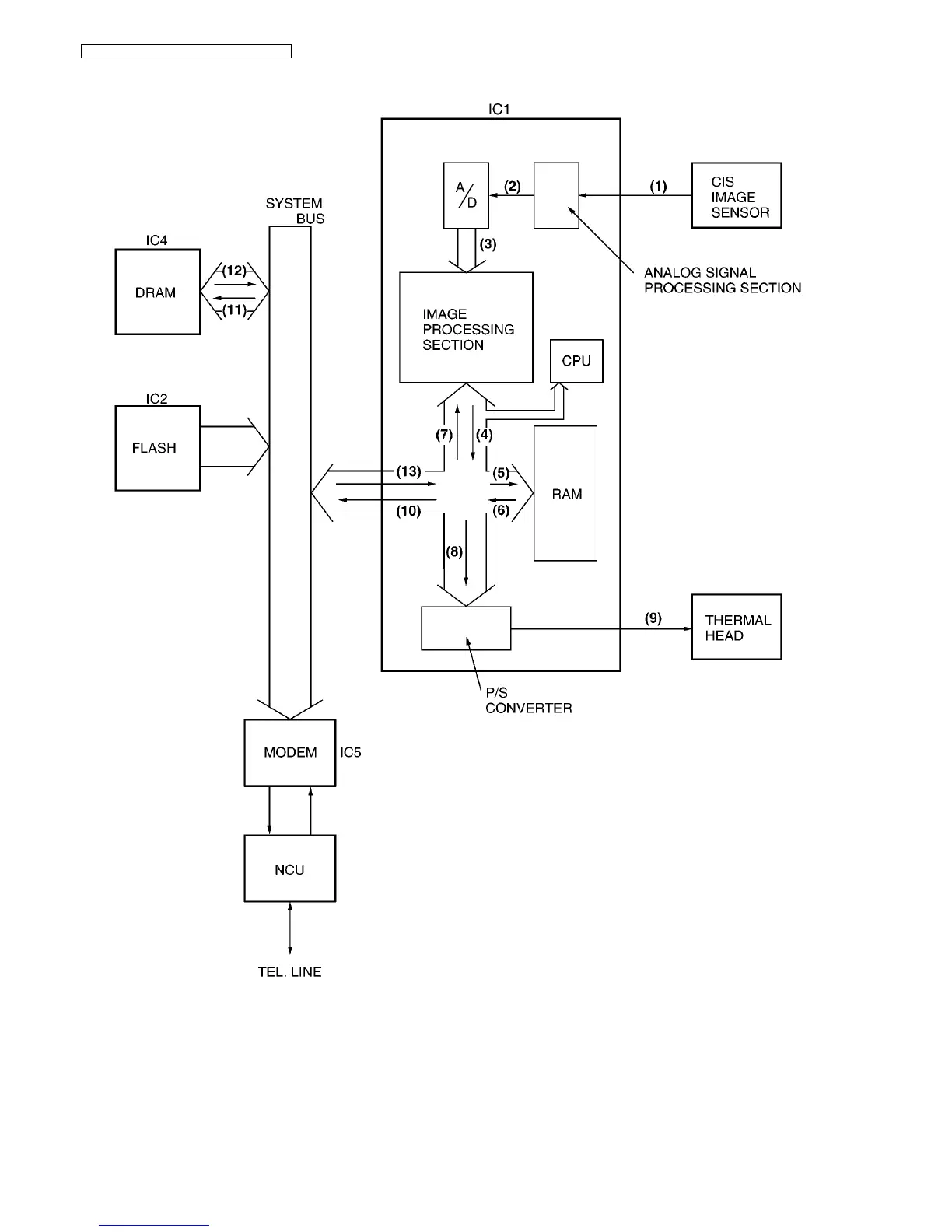
6.4.2. Block Diagram

Table of Contents