EasyManua.ls Logo

Panasonic KX-FT982LS-B - Power Supply Board Section

Panasonic KX-FT982LS-B
194 pages
Print Icon
To Next Page IconTo Next Page
To Next Page IconTo Next Page
To Previous Page IconTo Previous Page
To Previous Page IconTo Previous Page
Loading...
46
KX-FT982LS-B / KX-FT984LS-B / KX-FT988LS-B
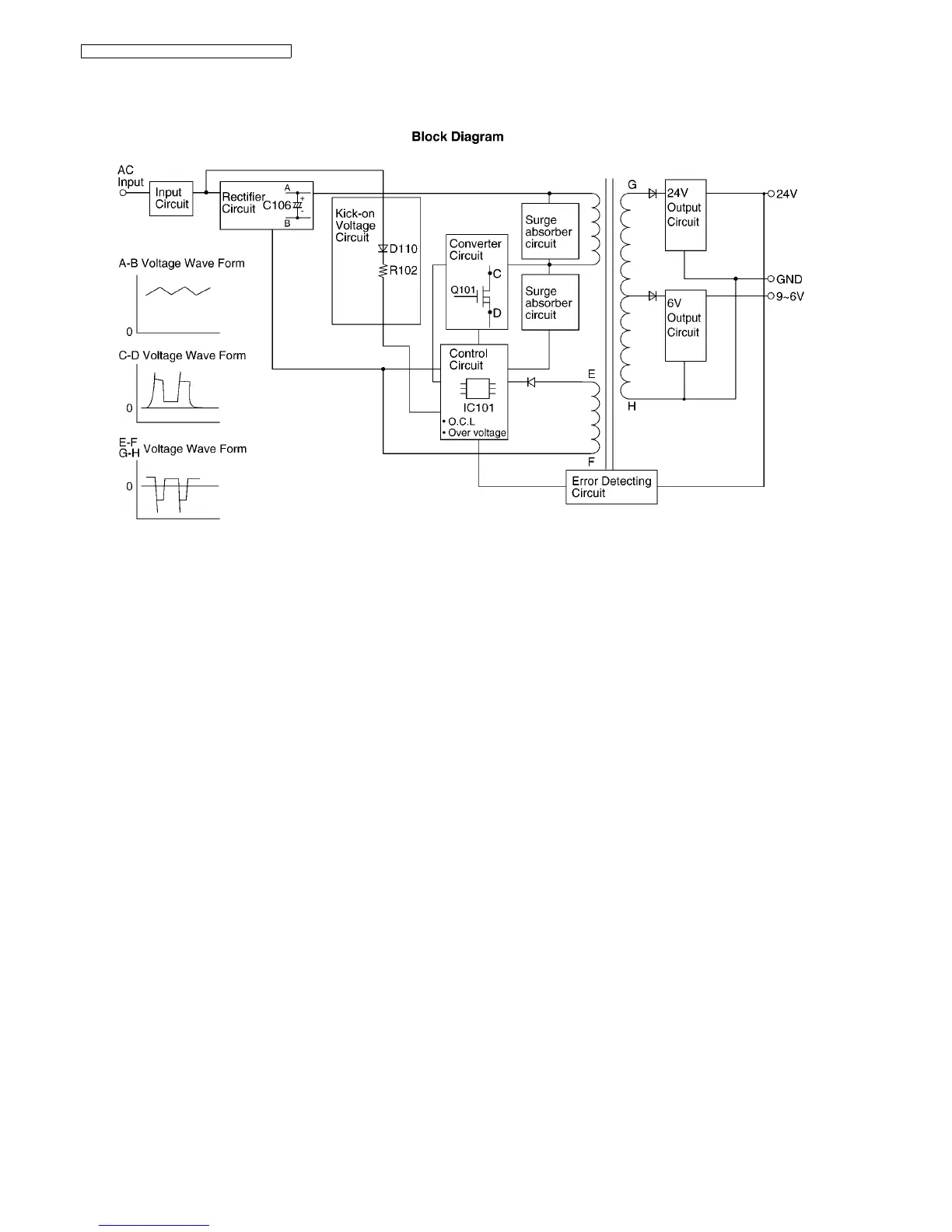
6.13. Power Supply Board Section
This power supply board uses the switching regulator method.
[Input Circuit]
The input current goes into the input rectifier circuit through the filter circuit. The filter circuit decreases the noise voltage and the
noise electric field strength.
[Rectifier Circuit]
The input current is rectified by D101,D102,D103 and D104 and charges C106 to make DC voltage. Then it supplies power to the
converter circuit.
[Kick-on voltage circuit]
Bias is applied to the Q101 gate via this circuit when the AC power is turned on and Q101 begins operating.

Table of Contents