EasyManua.ls Logo

Panasonic KX-FT982LS-B - Troubleshooting Details

Panasonic KX-FT982LS-B
194 pages
Print Icon
To Next Page IconTo Next Page
To Next Page IconTo Next Page
To Previous Page IconTo Previous Page
To Previous Page IconTo Previous Page
Loading...
96
KX-FT982LS-B / KX-FT984LS-B / KX-FT988LS-B
12.5. Troubleshooting Details
12.5.1. Outline
Troubleshooting is for recovering quality and reliability by determining the broken component and replacing, adjusting or clean-
ing it as required. First, determine the problem then decide the troubleshooting method. If you have difficulty finding the broken
part, determine which board is broken. (For example: the Digital PCB, Analog PCB, etc.) The claim tag from a customer or
dealer may use different expressions for the same problem, as they are not a technician or engineer. Using your experience,
test the problem area corresponding to the claim. Also, returns from a customer or dealer often have a claim tag. For these
cases as well, you need to determine the problem. Test the unit using the simple check list on Simple Check List (P.97). Diffi-
cult problems may be hard to determine, so repeated testing is necessary.
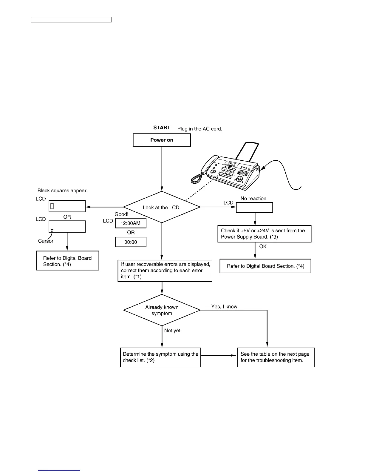
12.5.2. Starting Troubleshooting
Determine the symptom and the troubleshooting method.
REFERENCE:
(*1): Error Messages-Display (P.69)
(*2): Simple Check List (P.97)
(*3): Power Supply Board Section (P.120)
(*4): Digital Board Section (P.107)

Table of Contents