EasyManua.ls Logo

Panasonic TH-42PV60H

Panasonic TH-42PV60H
149 pages
To Next Page IconTo Next Page
To Next Page IconTo Next Page
To Previous Page IconTo Previous Page
To Previous Page IconTo Previous Page
Loading...
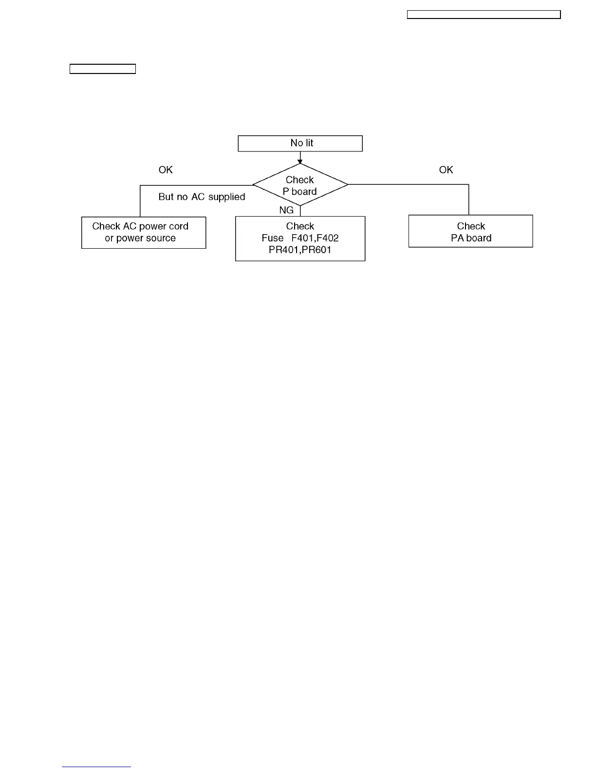
8.2. No Power
First check point
There are following 3 states of No Power indication by power LED.
1. No lit
2. Green is lit then turns red blinking a few seconds later. (See 8.1)
3. Only red is lit.
25
TH-42PV60A / TH-42PV60H / TH-42PV60M / TH-42PV60MT

Table of Contents

Related product manuals