EasyManua.ls Logo

Perkins M216C - Page 26

Perkins M216C
220 pages
Print Icon
To Next Page IconTo Next Page
To Next Page IconTo Next Page
To Previous Page IconTo Previous Page
To Previous Page IconTo Previous Page
Loading...
26 KENR9126
Troubleshooting Section
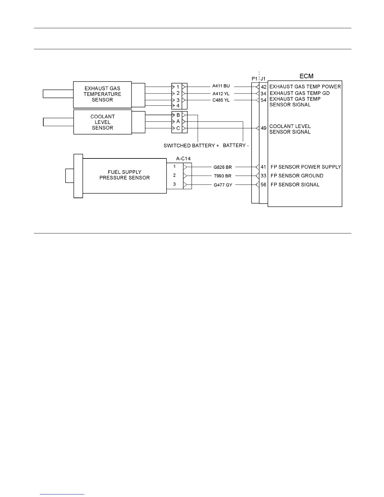
g02201274
Illustr
ation 9

Table of Contents

Other manuals for Perkins M216C

Related product manuals