EasyManua.ls Logo

Perlick BBS60 - Fan Motor Assembly Parts (Self-Contained Model Series)

Perlick BBS60
81 pages
Print Icon
To Next Page IconTo Next Page
To Next Page IconTo Next Page
To Previous Page IconTo Previous Page
To Previous Page IconTo Previous Page
Loading...
Back Bar Service Manual
Return to Table of Contents Replacement Parts Page 9-16
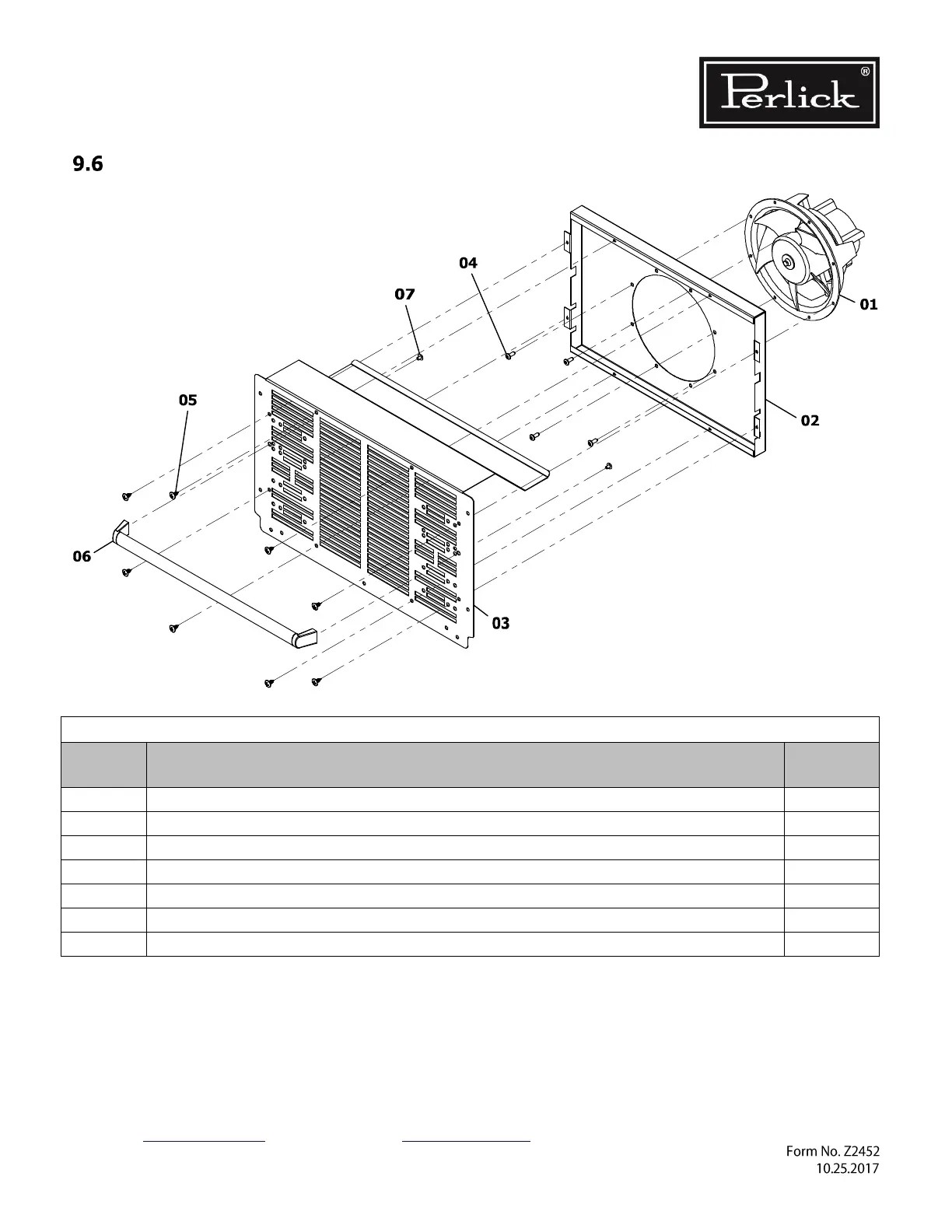
Fan Motor Assembly Parts (Self-Contained Model Series)
SELF-CONTAINED MODELS
ITEM
NUMBER
DESCRIPTION
QTY.
01
Motor, Fan
1
02
Panel, Fan Mounting
1
03
Panel, Inner Grille
1
04
Screw, Motor Mounting
4
05
Screw, Grille Mounting
8
06
Guard, Product
1
07
Screw, Guard Mounting
2

Table of Contents

Related product manuals