EasyManua.ls Logo

Perlick BBS60 - Refrigeration Module (DZS60 Model Series)

Perlick BBS60
81 pages
Print Icon
To Next Page IconTo Next Page
To Next Page IconTo Next Page
To Previous Page IconTo Previous Page
To Previous Page IconTo Previous Page
Loading...
Back Bar Service Manual
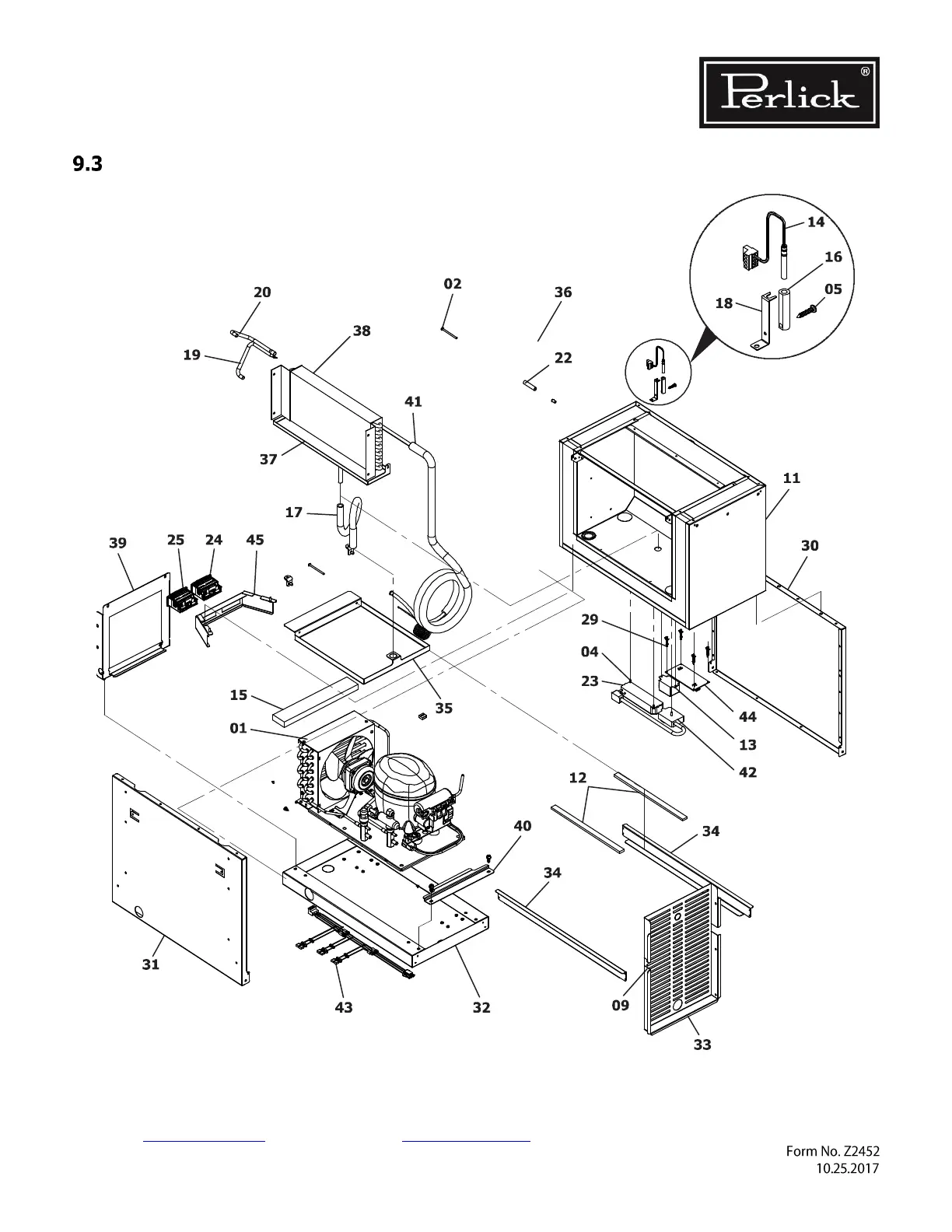
Return to Table of Contents Replacement Parts Page 9-7
Refrigeration Module (DZS60 Model Series)

Table of Contents

Related product manuals