EasyManua.ls Logo

PIAGGIO 633823 - Page 327

PIAGGIO 633823
336 pages
Print Icon
To Next Page IconTo Next Page
To Next Page IconTo Next Page
To Previous Page IconTo Previous Page
To Previous Page IconTo Previous Page
Loading...
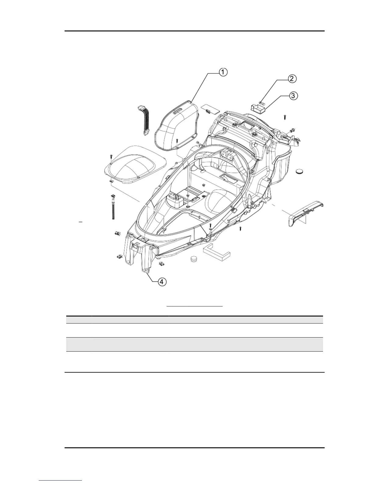
Helmet bay
HELMET COMPARTMENT
Code Action Duration
1 005046 Battery cover - change
2 005026 Helmet compartment bulb -
Replacement
3 005027 Helmet compartment bulb
support - Replacement
4 004016 Helmet compartment - Re-
placement
MP3 250 i.e. Time
TIME - 43

Table of Contents

Related product manuals