EasyManua.ls Logo

PIAGGIO B 250 - Page 21

PIAGGIO B 250
336 pages
Print Icon
To Next Page IconTo Next Page
To Next Page IconTo Next Page
To Previous Page IconTo Previous Page
To Previous Page IconTo Previous Page
Loading...
Cr: 11.50 ÷ 13:1
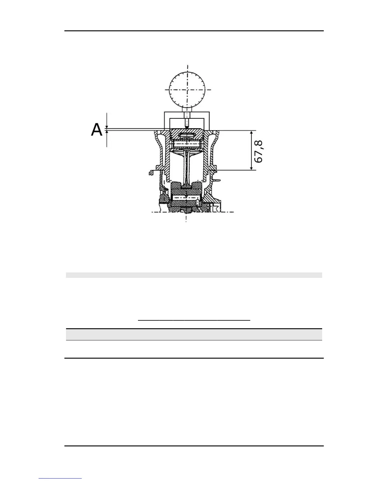
Measurement «A» to be taken, is a value of piston protrusion. It indicates by how much the plane formed
by the piston crown protrudes from the plane formed by the upper part of the cylinder. The further the
piston protrudes from the cylinder, the thicker the base gasket to be used (to restore the compression
ratio) and vice versa.
N.B.
NO GASKETS AND SEALS SHOULD BE ASSEMBLED BETWEEN THE CRANKCASE AND CYL-
INDER AND THE DIAL GAUGE EQUIPPED WITH SUPPORT SHOULD BE SET TO ZERO FOR
MEASUREMENT «A» TO BE TAKEN WITH THE PISTON AT TOP DEAD CENTRE POSITION AND
ON A RECTIFIED PLANE.
VERSION 125 WITH METAL HEAD GASKET (0.3)
Name
Measure A Thickness
Shimming 125 - Cylinder 67.8 - Head
gasket 0.3 - Base gasket 0.4
1.40 ÷ 1.65 0.4 ± 0.05
Shimming 125 - Cylinder 67.8 - Head
gasket 0.3 - Base gasket 0.6
1.65 ÷ 1.90 0.6 ± 0.05
Characteristic
Compression ratio 250 version
CR: 10.5 ÷ 11.5 : 1
B 125-250 Characteristics
CHAR - 21

Related product manuals