EasyManua.ls Logo

Protec COMPACT 2 NDT - Removal and Installation of Dryer Rack (Two-Parts); Removal

Protec COMPACT 2 NDT
65 pages
Print Icon
To Next Page IconTo Next Page
To Next Page IconTo Next Page
To Previous Page IconTo Previous Page
To Previous Page IconTo Previous Page
Loading...
COMPACT 2 NDT
User Manual
519
0
-
0
-
0002
PROTEC GmbH & Co. KG, In den Dorfwiesen 14, 71720 Oberstenfeld, Germany
29
von
65
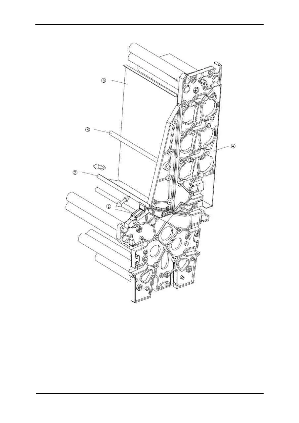
5.3 Removal and Installation of Dryer Rack (two-parts)
5.3.1 Removal
1 Push small, black slide (1) downwards.
2 Pull dryer plate small (2) out of the dryer.
3 The upper part of the dryer can now be removed. Hold the dryer at the front distance bar (3)
and the whole of the metal plate in the back (4).
4
Take out lower part of the dryer.

Table of Contents

Related product manuals