EasyManua.ls Logo

rada DRV40 - DRV Unit Seal Replacement Steps; Seal Fitting Procedures

rada DRV40
72 pages
Print Icon
To Next Page IconTo Next Page
To Next Page IconTo Next Page
To Previous Page IconTo Previous Page
To Previous Page IconTo Previous Page
Loading...
48
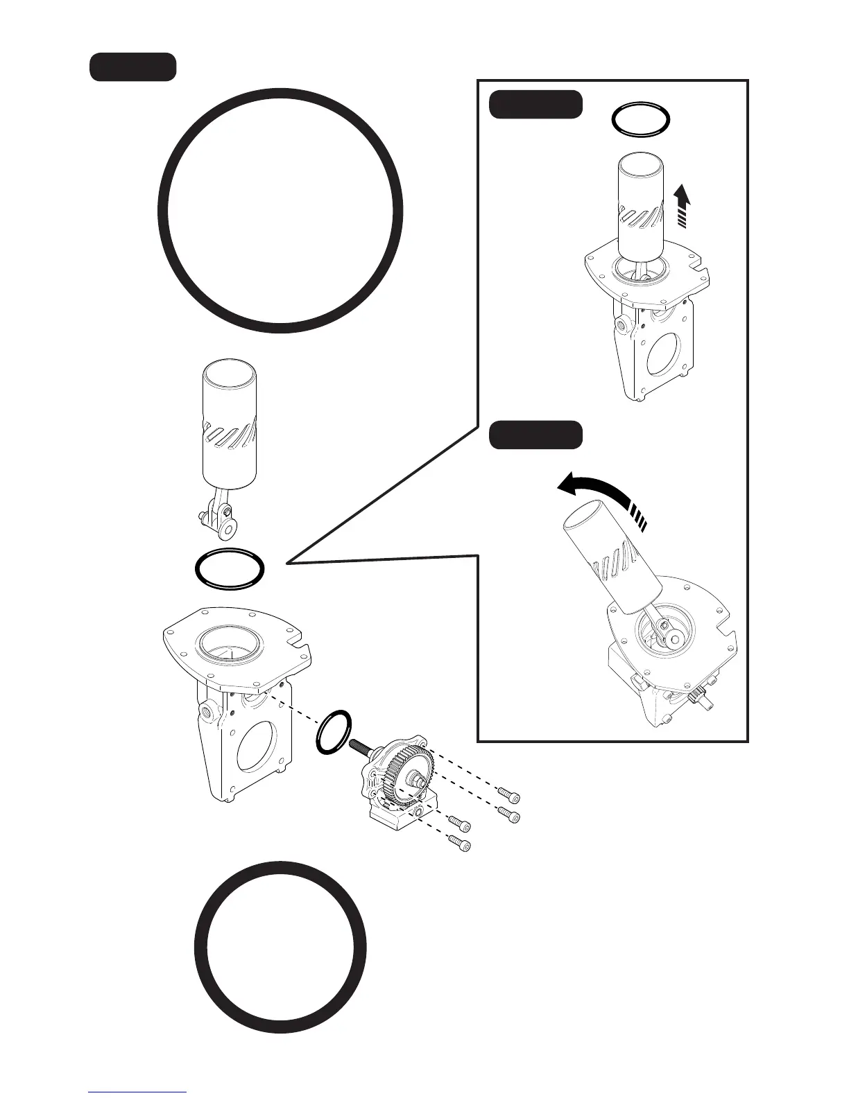
3mm HEX
Step 7
Step 7a
Step 7b
Seals shown 1:1 when
printed at Full Scale

Related product manuals