EasyManua.ls Logo

RADWAG AS series

RADWAG AS series
75 pages
To Next Page IconTo Next Page
To Next Page IconTo Next Page
To Previous Page IconTo Previous Page
To Previous Page IconTo Previous Page
Loading...
41
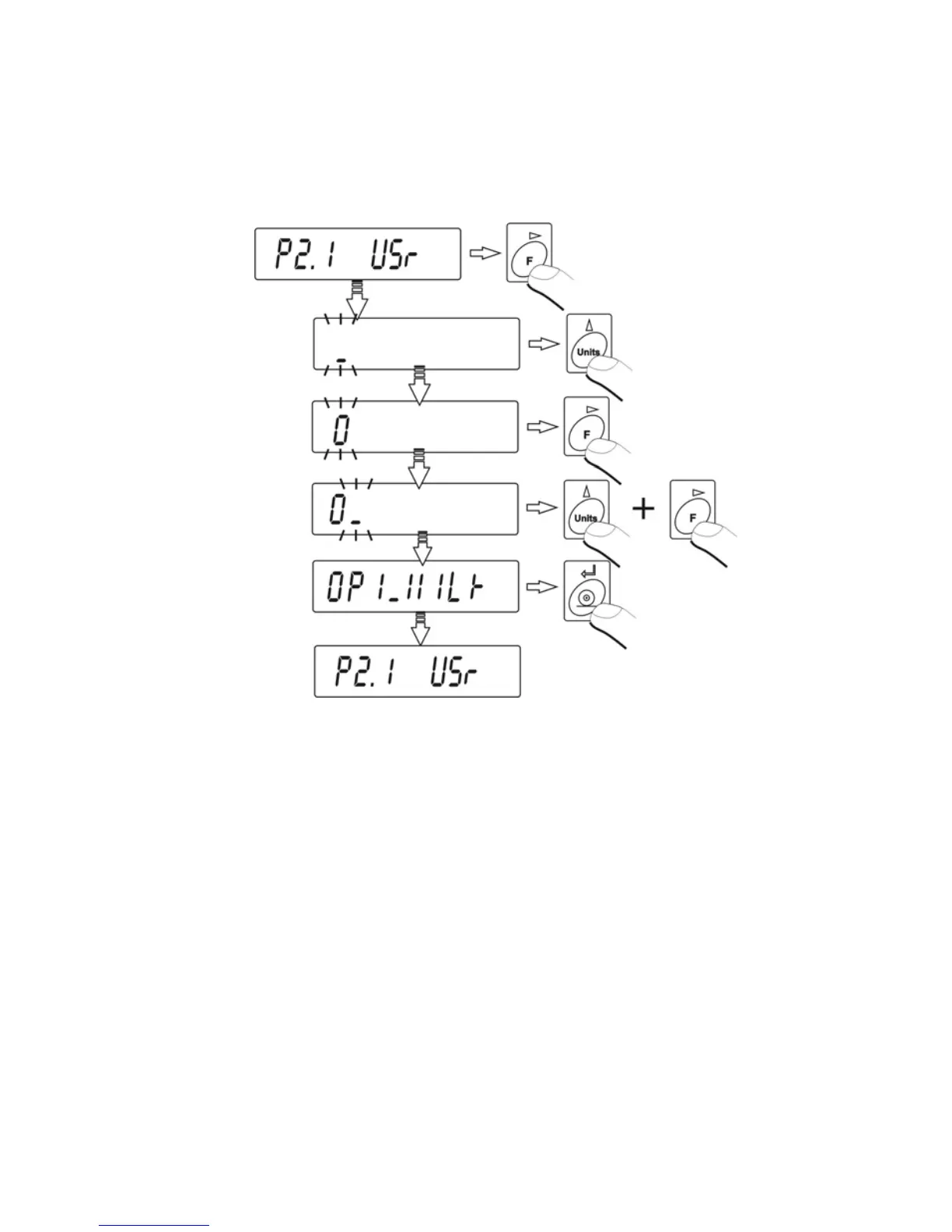
P2.1 USr
Option enabling to introduce name of user who operates the scale. User has
possibility to introduce the name consisting of max 8 alphanumeric characters.
Introduction the name is possible by the means of scale keyboard with F,
MODE, UNITS and PRINT keys.

Table of Contents

Other manuals for RADWAG AS series

Related product manuals