EasyManua.ls Logo

REXON RL-502 - Hot Key; FM Radio Mode

REXON RL-502
33 pages
Print Icon
To Next Page IconTo Next Page
To Next Page IconTo Next Page
To Previous Page IconTo Previous Page
To Previous Page IconTo Previous Page
Loading...
PAGE 10
Hot key
* RF Power Setting
*
Squelch Level Setting
*
Display Mode Setting
*
Display Single Band
*
VOX Level Setting
*
TOT Setting
*
Transmitter and Receiver Sub Tone Setting
*
Receiver Sub Tone Setting
*
Transmitter Sub Tone Setting
*
Start Scanning
*
Reverse Frequency
*
Switch to emergency channel
*
Save or duplicate a channel
*
Keypad lock
*
Unlock key pad for 2 second
*
Turn FM Radio On/Off
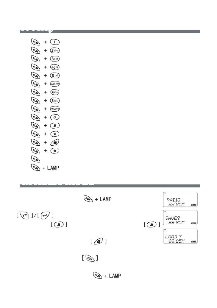
FM Radio Mode
In stand by mode, press” “ button to en-
ter FM radio setting, The LCD display “RADIO” char, press
button or number to change FM Radio fre-
quency, press button to start scanning, press
button to next scan .
To Save the station: press button, LCD shows
”SAVE” char, press Number 1-9 to save
To Load station: Press
button, the LCD display”LOAD”, press
number 1-9 to load the station last you save.
To exit FM radio mode: press button to quit.

Related product manuals