EasyManua.ls Logo

RIDGID R4513 - Assembly: Throat Plate and Riving Knife; Throat Plate Removal and Alignment; Changing Riving Knife Positions

RIDGID R4513
48 pages
Print Icon
To Next Page IconTo Next Page
To Next Page IconTo Next Page
To Previous Page IconTo Previous Page
To Previous Page IconTo Previous Page
Loading...
20
TO REMOVE/REPLACE/ALIGN THE THROAT
PLATE
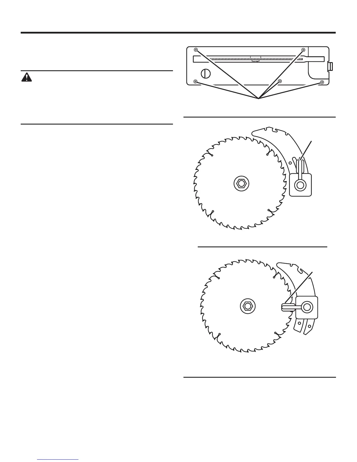
See Figure 19.
WARNING:
The throat plate must be level with the saw
table. If the throat plate is too high or too low,
the workpiece can catch on the uneven edges
resulting in binding or kickback which could
result in serious personal injury.
Lower the blade by:
1) Unlocking the blade height lock knob (turn counter-
clockwise).
2) Turn the height adjusting knob counterclockwise to
lower the blade.
Using a hex key, adjust the four set screws until the throat
plate is level with the saw table.
Another set screw that may require adjustment is under the
throat plate on the tool housing.
To remove the throat plate: place your index finger in
the hole and lift the front end pulling the throat plate out
toward the front of the saw.
Adjust the set screw at the back of the housing until the
back of the throat plate is level with the saw table.
To reinstall the throat plate, first slip the tab into the slot
at the back of the saw and then push down to secure in
place.
TO CHANGE RIVING KNIFE POSITIONS
See Figure 20.
This saw is shipped with a riving knife that should be placed
in the “down” position for non-through cutting and must be
placed in the “up” position for all other cutting operations.
Unplug the saw.
To place in the “up” position for all through cutting:
Remove the throat plate.
Raise the saw blade by turning the height adjusting knob
clockwise.
Unlock the release lever by pulling it up.
Grasp the riving knife and pull it towards the right side of
the saw to release the riving knife from the spring-loaded
riving clamp.
Pull the riving knife up until the internal pins are engaged
and the riving knife is above the saw blade.
Lock the release lever by pushing the lever down.
Reinstall the throat plate.
To place in riving knife down position for all non-through
cutting:
Remove the throat plate.
Raise the saw blade by turning the height adjusting knob
clockwise.
ASSEMBLY
Fig. 19
SET SCREWS
Fig. 20
IN UP POSITION FOR THROUGH CUTTING
IN DOWN POSITION FOR NON-THROUGH CUTTING
RELEASE
LEVER
(LOCKED)
RELEASE
LEVER
(UNLOCKED)
Unlock the release lever by pulling it up.
Push the riving knife down until it is below the saw blade.
Lock the release lever by pushing the lever down.
Reinstall the throat plate.

Other manuals for RIDGID R4513

Related product manuals