EasyManua.ls Logo

Riello 464T2 - Elektrisches Verdrahtungsschema

Riello 464T2
Print Icon
To Next Page IconTo Next Page
To Next Page IconTo Next Page
To Previous Page IconTo Previous Page
To Previous Page IconTo Previous Page
Loading...
20025319
5
D
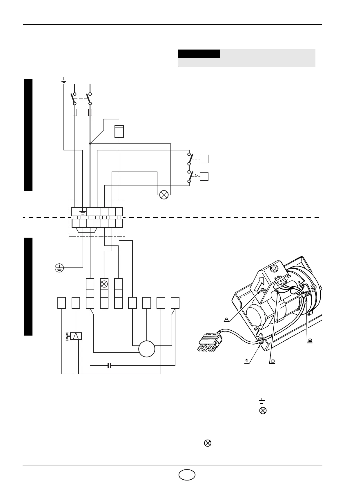
ELEKTRISCHES VERDRAHTUNGSSCHEMA
Braun
Weiss (50V)
Blau
Motor
Kondensator
Regelungthermostat
Nulleiter
Schalter mit
6A
max.
M
~
Grau
230V ~ 50Hz
LN
Begrenzer
Äußere Störlampe
(230V - 0,5 A max.)
1NT1T2S3B4
12
Braun
Ventil
T
T
D5334
Schwarz
Sicherung
KLEMMLEISTE DES
STEUERGERÄTS 530SE
*
7 - poliger
7 - polige
3456789
NL
Gelb/Grün
Blau
Blau
Braun
Schwarz
h
Schwarz
Nulleiter nicht mit der phase verwechseln
ACHTUNG
BEMERKUNGEN
Leiterdurchmesser 1 mm
2
.
Die vom Installateur ausgeführten elektri-
schen Verbindungen müssen den diesbezüg-
lichen Landesbestimmungen entsprechen.
KONTROLLE
Die Regelabschaltung des Brenners durch
Ein- und Ausschalten der Thermostate über-
prüfen.
Betriebsstun-
denzähler
STEUERGERÄTS
- Um das Steuergerät vom Brenner zu trennen:
die Schraube (A) (siehe untere Abbildung) lösen
und in Richtung des Pfeiles ziehen.
- Der Flammenfühler ist im Steuergerät (unter dem
Zündtrafo) auf einem Schnellstecksockel angeord-
net.
S7183
VERLAUF DES ELEKTRISCHEN KABELS
1 - Kabeldurchführung N - Nulleiter
2 - Kabelbefestigung L - Phase
3 - Klemmleiste - Brenner-Erdung
- Störlampe
ACHTUNG
Den Erdleiter des Brenners nicht an der
Klemme für die Meldung von Störabschal-
tung anschließen. Das Steuergerät kann
dadurch beschädigt werden.
WERKSSEITIGE EINSTELLUNG
VOM INSTALLATEUR AUSZUFÜHREN
Stecker
Steckdose

Related product manuals