EasyManua.ls Logo

Riello 464T2 - Elektrische Aansluitingen

Riello 464T2
Print Icon
To Next Page IconTo Next Page
To Next Page IconTo Next Page
To Previous Page IconTo Previous Page
To Previous Page IconTo Previous Page
Loading...
20025319
5
NL
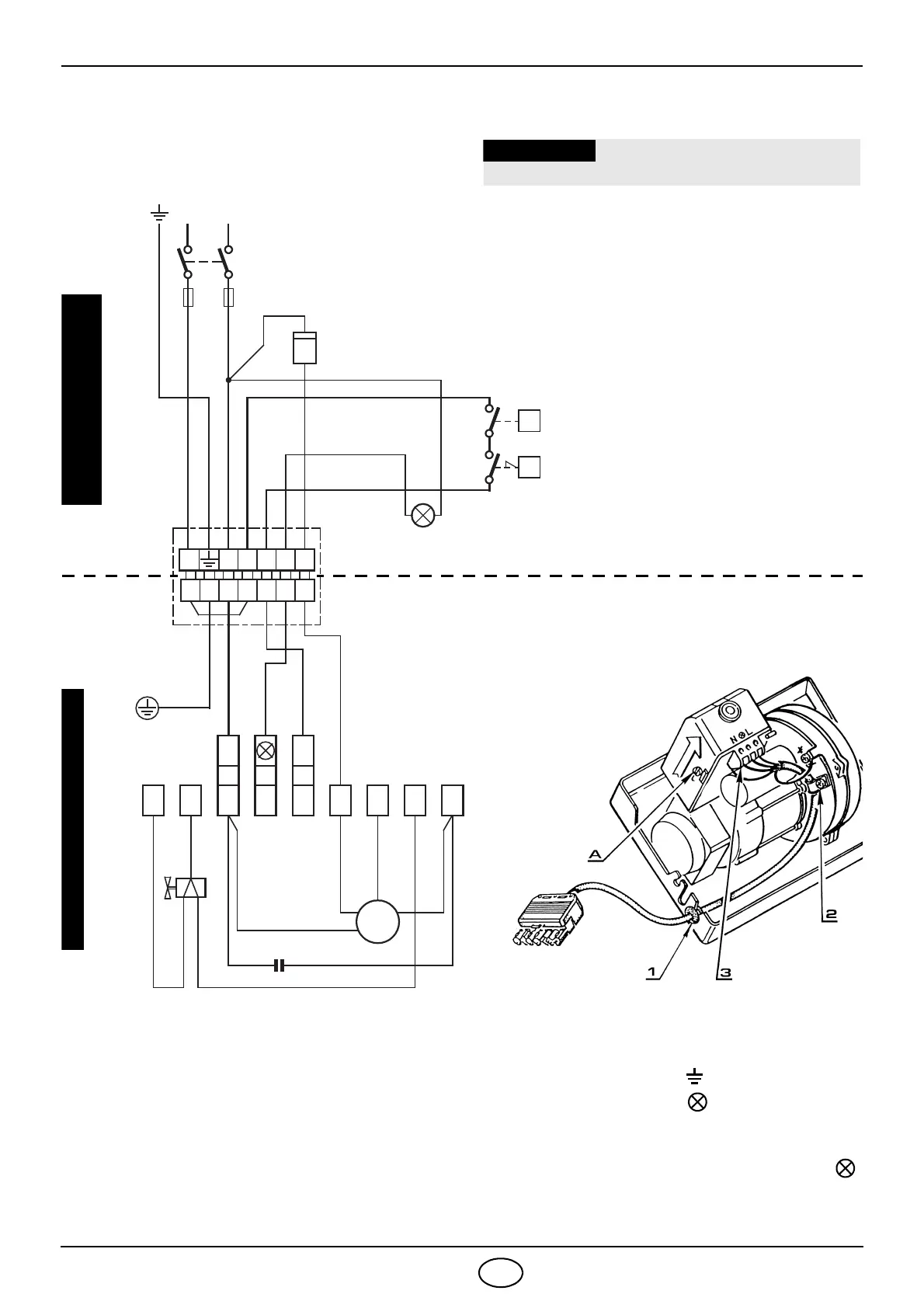
ELEKTRISCHE AANSLUITINGEN
Bruin
Wit
(50V)
Blauw
Motor
Condensator
Regelthermostaat
Nulleider
Schakelaar
6A
max.
M
~
Grijs
Nulleider en fase niet omwisselen
OPGELET
230V ~ 50Hz
LN
Max. Thermostaat met
manuele herbewapening
Uitwendige veiligheidssignalisatie
(230V - 0,5A max.)
1NT1T2S3B4
12
Bruin
Klep
T
T
D5334
Zwart
met zekering
KLEMMENBORD VAN DE
CONTROLEDOOS
3456789
NL
Geel/ groen
Blauw
Blauw
Bruin
Zwart
NOOT:
Doorsnede van de geleiders: 1 mm
2
.
De elektrische aansluitingen die de instal-
lateur uitvoert dienen te voldoen aan de
wetgeving terzake in het betrokken land.
CONTROLE
De stilstand van de brander nagaan door
de thermostaten te openen.
Urenteller
h
Zwart
7 - polige
7 - polige
UITGEVOERD IN DE FABRIEK UIT TE VOEREN DOOR
INSTALLATEUR
S7183
CONTROLEDOOS
- Om de controledoos van de brander weg te
nemen moet men schroef (A) losdraaien
(zie figuur hieronder) en in de richting van de
pijl trekken.
- De vlambeveilinging is rechtstreeks op de contro-
ledoos gemonteerd (onder de ontstekingstransfo)
op een houder met stekkerkoppeling.
TRAJECT VAN DE LEIDINGEN
1 - Wartel N - Nulleider
2 - Vasthechting kabels L - Fase
3 - Klemmenbord - Aarding brander
- Veiligheidslampje
LET OP
Verbind de aardingskabel van de brander niet
met de klem voor het blokkeringssignaal .
Hierdoor kan de controledoos beschadigd
worden.
vr. stekker
stekker
530SE
*

Related product manuals