EasyManua.ls Logo

Riello 464T2 - Electrical Wiring; Control Box

Riello 464T2
Print Icon
To Next Page IconTo Next Page
To Next Page IconTo Next Page
To Previous Page IconTo Previous Page
To Previous Page IconTo Previous Page
Loading...
20025319
5
GB
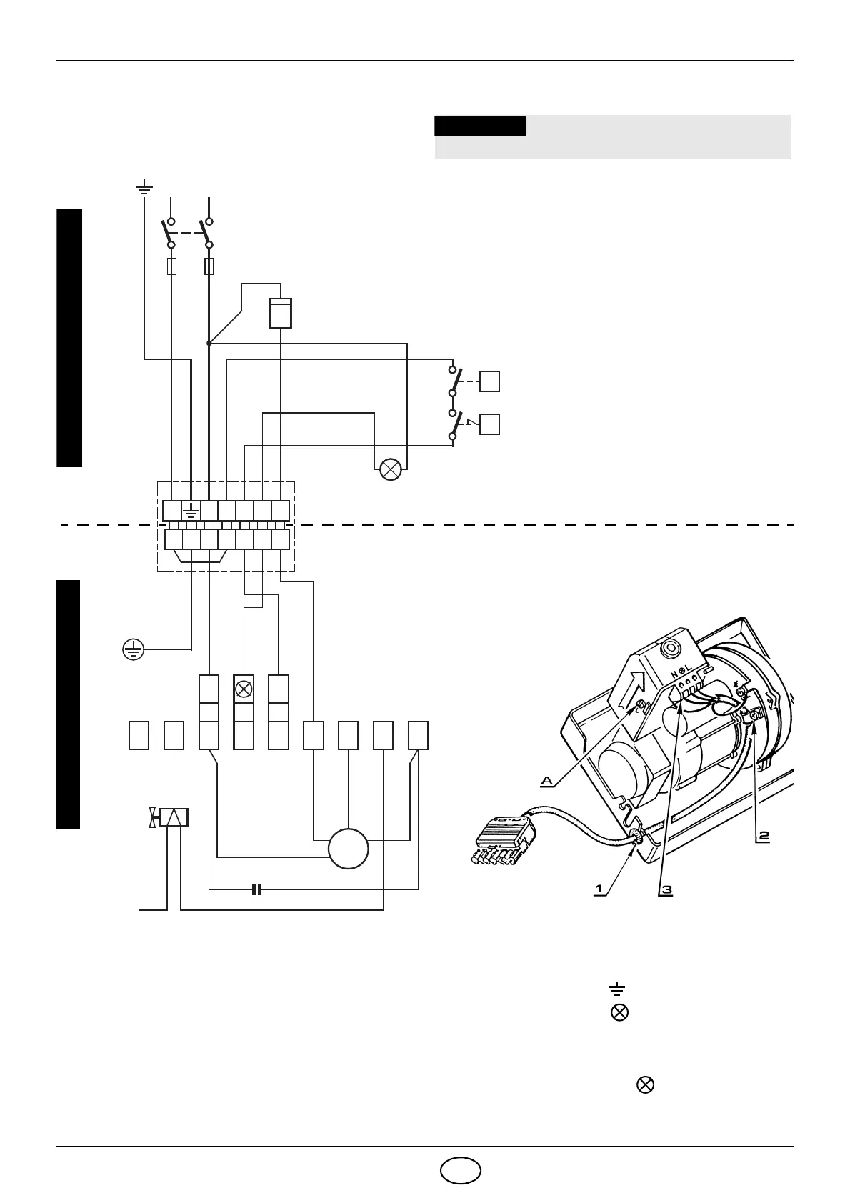
ELECTRICAL WIRING
Brown
White (50V)
Blue
Motor
Capacitor
Regulating thermostat
Neutral
Switch with fuse
6A
max.
M
~
Grey
230V ~ 50Hz
LN
Limit thermostat
with manual resetting
Remote lock-out lamp
(230V - 0.5A max.), if required
1NT1T2S3B4
12
Brown
Valve
T
T
D5334
Black
TERMINAL
CONTROL-BOX
7 pin plug
7 pole socket
3456789
NL
Yellow/Green
Blue
Blue
Brown
Black
Hour counter
h
Black
Do not exchange the neutral with the phase
WARNING
NOTES:
Wires of 1 mm
2
section.
The electrical wiring carried out by the
installer must be in compliance with the
rules in force in the Country.
TESTING
Check the shut-down of the burner by opening
the thermostats.
S7183
CONTROL BOX
- To remove the control-box from the burner,
loosen screw (A) (see figure) and pull towards
the arrow.
- The flame sensor is fitted directly into the control-
box (underneath the ignition-transformer) on a
plug-in support.
RUN OF THE ELECTRICAL CABLE
1 - Grommet N - Neutral
2 - Cable-clamp L - Phase
3 - Terminal block - Burner-earth
- Lock-out lamp
ATTENTION
Do not connect burner’s grounding, to fail-
ure indicator terminal . This may result
the destroy of the control box.
CARRIED-OUT BY THE INSTALLER
CARRIED-OUT IN THE FACTORY
BLOCK OF
530SE
*

Related product manuals