EasyManua.ls Logo

Riello 464T2 - Instalación Eléctrica

Riello 464T2
Print Icon
To Next Page IconTo Next Page
To Next Page IconTo Next Page
To Previous Page IconTo Previous Page
To Previous Page IconTo Previous Page
Loading...
20025319
5
E
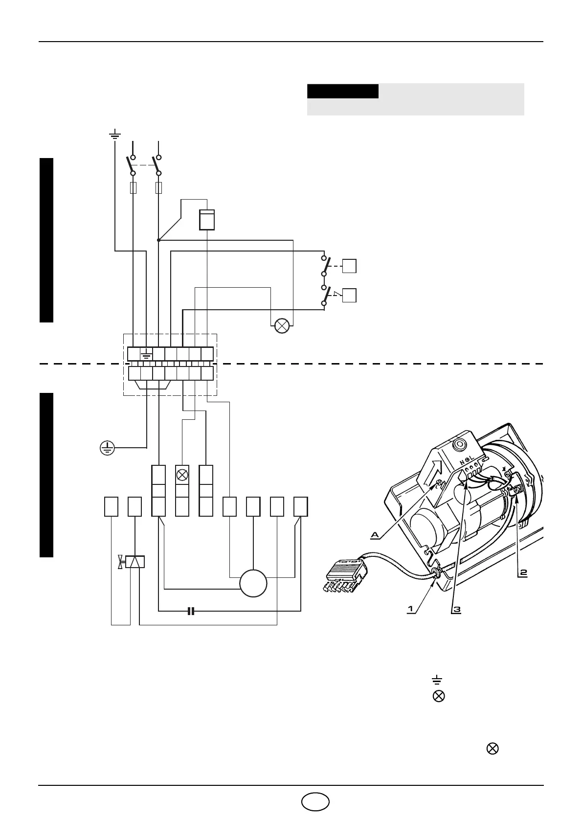
INSTALACIÓN ELÉCTRICA
Marrón
Blanco (50V)
Azul
Motor
Condensador
Termóstato de regulación
Neutro
Interruptor
6A
máx.
M
~
Gris
230V ~ 50Hz
LN
Termóstato de máxima
con rearme manual
Señalización de bloqueo
exterior (230V - 0,5A máx.)
1 N T1 T2 S3 B4
12
Marrón
Válvula
T
T
D5334
Negro
con fusible
REGLETA DE
DE CONTROL
3456789
NL
Amarillo
Azul
Azul
Marrón
Negro
Cuentahoras
h
Negro
NOTAS
Sección de los conductores 1 mm
2
.
Las conexiones eléctricas efectuadas por
el instalador deben respetar la normativa
vigente en el país.
ENSAYO
Comprobar el paro del quemador abriendo
los termóstatos
y Verde
Conector macho
EJECUTADO EN FÁBRICA A CARGO DEL INSTALADOR
ATENCIÓN
No intercambie el neutro con la fase
S7183
CAJA DE CONTROL
- Para quitar la caja de control del quemador,
afloje el tornillo (A) (ver figura) y tire en la
dirección de la flecha.
- El sensor llama está montado directamente en
la caja de control (abajo del transformador de
encendido) en un soporte de conexión rápida.
RECORRIDO DEL CABLE ELÉCTRICO
1 - Anillo pasacable N - Neutro
2 - Sujetador del cable L - Fase
3 - Regleta de conexión - Tierra quemador
- Señalización de
bloqueo
ATENCIÓN
No conecte el hilo de tierra del quemador al
borne de señalización de bloqueo . Podría
averiar el aparato.
Conector hembra
de 7 contactos
de 7 contactos
CONEXIÓN CAJA
530SE
*

Related product manuals