EasyManua.ls Logo

Riello RG4F - Electrical Wiring

Riello RG4F
Print Icon
To Next Page IconTo Next Page
To Next Page IconTo Next Page
To Previous Page IconTo Previous Page
To Previous Page IconTo Previous Page
Loading...
3004
7
GB
3.5
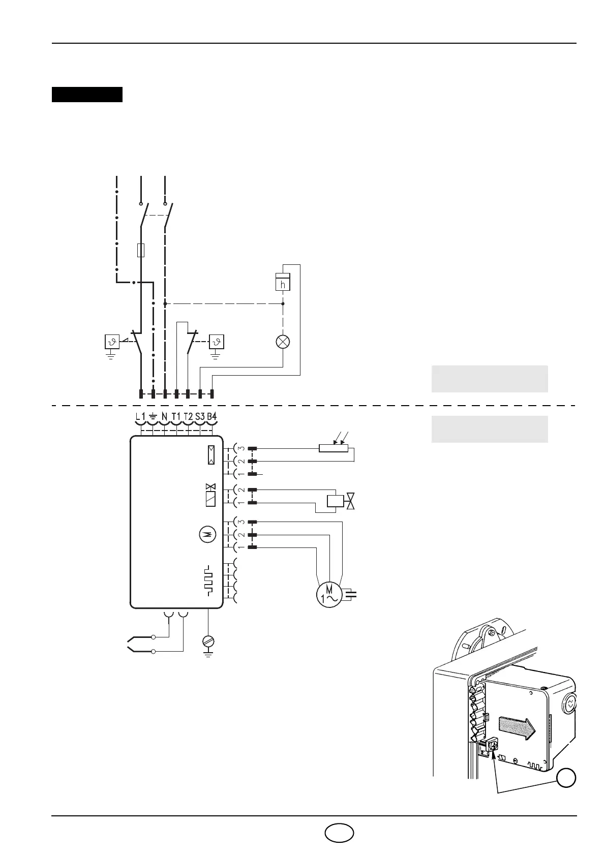
CONTROL BOX (see Fig. 10)
To remove the control-box from the burner, loosen screw (A) and
pull to the arrow direction, after removing all components, the
7 pin plug and earth wire.
In case of disassembly of the control box, retighten the
screw (A) with a torque wrench setting of 1 – 1.2 Nm.
S7072
Fig. 10
A
D1913
NOTES:
Wires of min. 1 mm
2
section.
(Unless requested otherwise by local standards
and legislation).
The electrical wiring carried out by the installer
must be in compliance with the rules in force in
the Country.
WARNING
DO NOT EXCHANGE NEUTRAL WITH PHASE
7 pin plug
7 pole socket
Black
White
Capacitor
Main switch
T6A
Motor
Blue
Oil valve
Hour counter
(230V - 0.
1A
max.)
Limit thermostat
Remote lock-out signal
(230V - 0.5A max.)
Ignition
electrodes
Brown
Burner-earth
552SE
CONTROL BOX
Sensor llama
PE L N
Blue
TESTING
Check the shut-down of the burner by opening
the thermostats and the lock-out by darkening
the sensor llama.
Safety thermostat
~50/60Hz 220/230V
CARRIED-OUT
IN THE FACTORY
TO BE DONE
BY THE INSTALLER
ELECTRICAL WIRING

Table of Contents

Related product manuals