EasyManua.ls Logo

Rigol DM3058E - Example 9: Mirror Image Configuration

Rigol DM3058E
129 pages
Print Icon
To Next Page IconTo Next Page
To Next Page IconTo Next Page
To Previous Page IconTo Previous Page
To Previous Page IconTo Previous Page
Loading...
RIGOL
Users Guide for DM3058/DM3058E
3-13
Example 9: Mirror Image Configuration
In virtue of this function, all the “System Configuration” and “Sensor Configuration”
could by backup via USB flash device or clone to other DM3058/DM3058E. Up to 10
System Configuration files and 10 Sensor Configuration files could be stored in the
instrument. Then, we will take an example about the storage of 2 system
configuration and 2 sensor configuration files to explain in the following passage.
Operating Steps:
1. Store Configuration files “Set1andSet2. The details have been mentioned in
last example, please refer to.
2. Create a new Sensor Configuration file. Please refer to “Example 6”.
3. Press Save to store Sensor file that has been selected into the interior Memory
of DM3058/DM3058E, then you will get a file named “a”. Please create another
file “b” in the same way.
Figure 3-31 Save interface
4. Save the “System Configuration” and “Sensor Configuration” files to USB flash
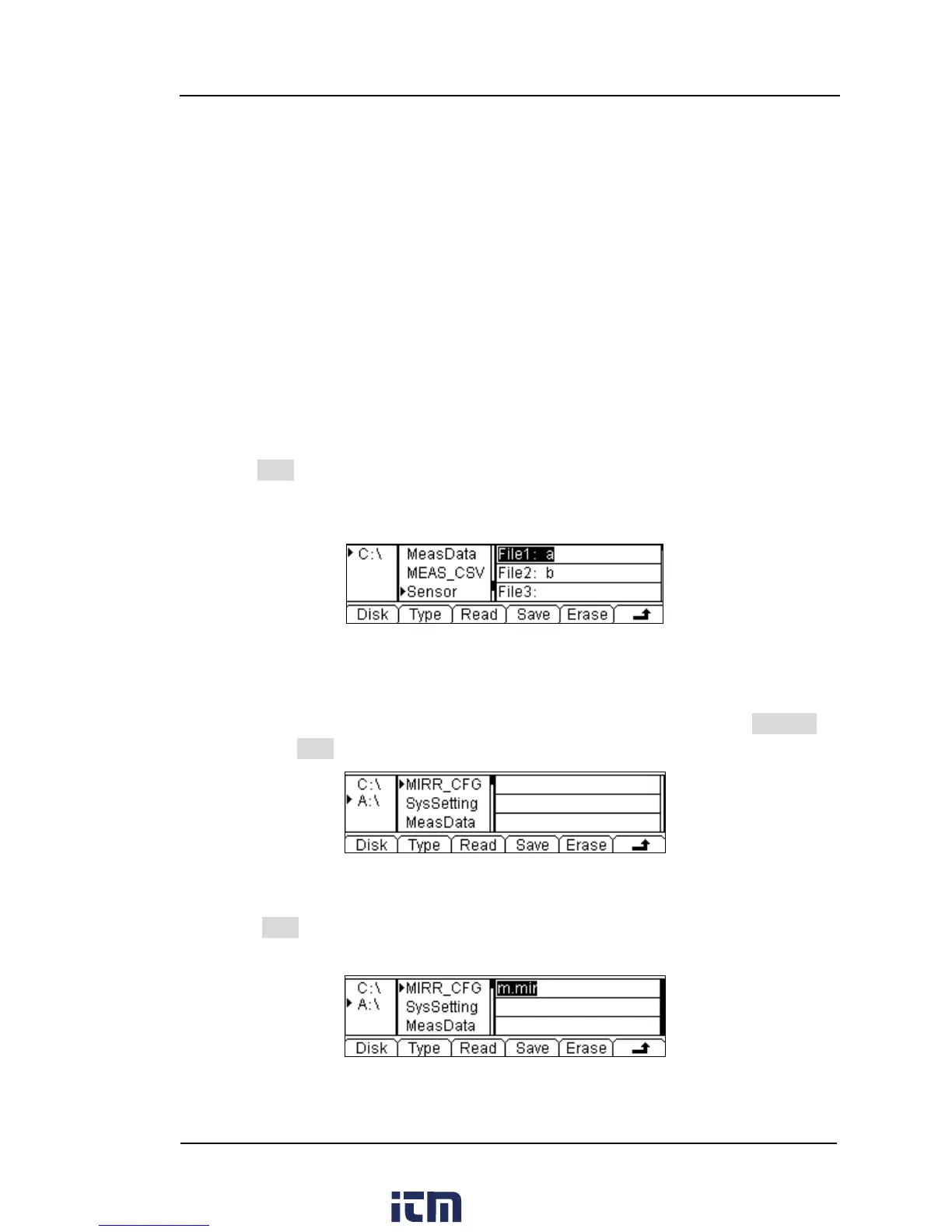
device in the format of “MIRR_CFG”. Insert a USB flash device; select Location
as A:\ and Type as MIRR_CFG”:
Figure 3-32 Mirror Image interface
Press Save and input file name as “m”, then a Mirror Image Configuration file
will be obtained.
Figure 3-33 Mirror Image Configuration file
w ww. . com
information@itm.com1.800.561.8187

Table of Contents

Related product manuals