EasyManua.ls Logo

Robland T120 - Position-Bediener am Arbeitsplatz

Robland T120
70 pages
Print Icon
To Next Page IconTo Next Page
To Next Page IconTo Next Page
To Previous Page IconTo Previous Page
To Previous Page IconTo Previous Page
Loading...
40 11-V0116 T120
Nederlands
Français
Durchmesser-Geschwindigkeit Diagramm gezeigt;
-die Verwendung von Eisen und nicht-Eisen.
Verbleibende Risiken:
Fräsen sind eine der Hauptursachen für Verletzungen in der Holzbearbeitung. Fast alle Unfälle führen zu
Verletzungen der Hand. Durch Berührung mit dem rotierenden Werkzeug, wenn das Werkstück von Hand
gefüttert wird, tritt ein Rückschlag auf.
Die wichtigsten Gefahren für den Form-Fräsen sind:
-die beweglichen Maschinen-und Werkzeug-Teile;
-der Bereich der Provisionen.
Verwenden Sie immer die geeigneten Schutzeinrichtungen und beobachten Sie die spezifischen
Vorschriften zur Unfallverhütung.
Trotz der Verwendung spezifischer Schutzeinrichtungen und der Anwendung der Hygiene und
Sicherheitsvorschriften bleiben bei der Arbeit mit dem Fräseinheit gewisse Risiken bestehen:
-Gefahr von Unfällen im unsicheren Bereich der Werkzeuge;
-Gefahr von Verletzungen beim Austauschen von Werkzeugen;
-das Risiko der Verletzung durch das Stück Holz selbst;
- Zerquetschen des Finger;
-Gefahr der Störung der Hand in der Maschine, bei Verwendung eines austauschbaren Pushers;
-das Risiko von Backen-Stücken aus Holz;
-Gesundheitsrisiko durch längere Inhalation von Partikeln, insbesondere Eiche, Strand oder exotische
Holzarten
-Schwerhörigkeit durch längere Exposition gegenüber Lärm.
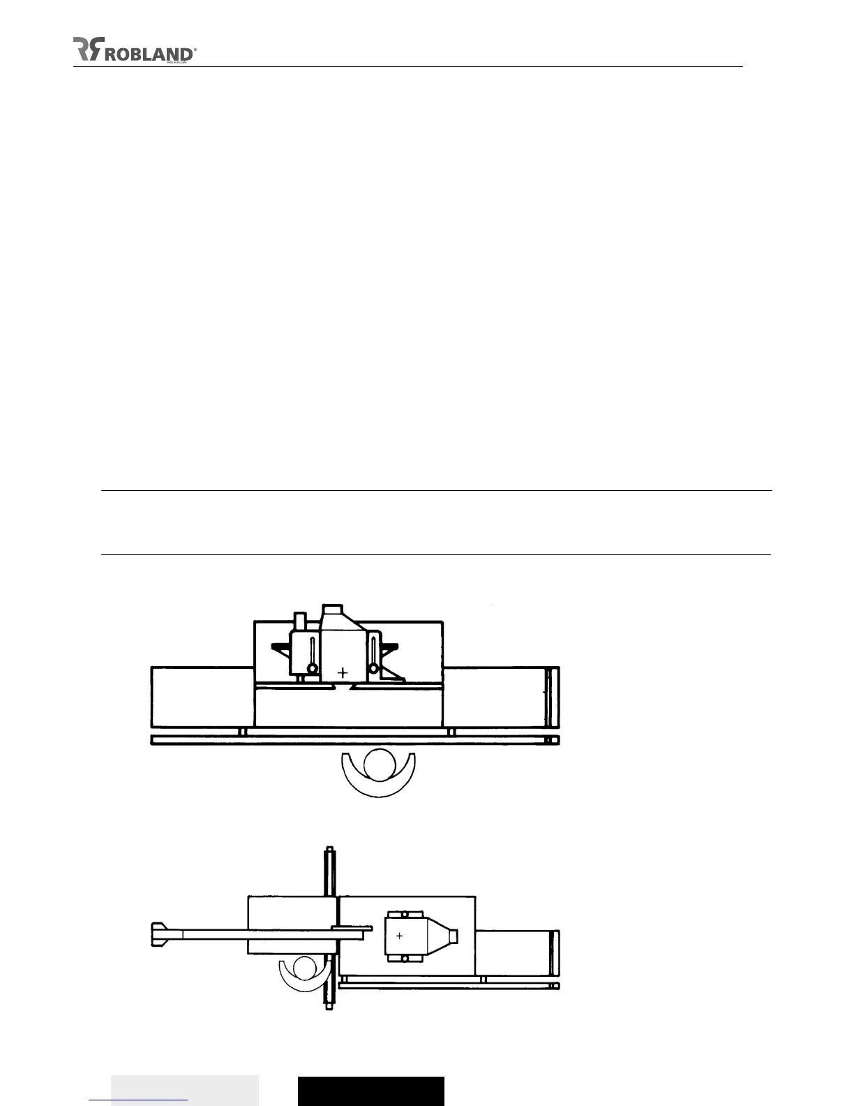
Position-Bediener am Arbeitsplatz
Fräsen: (T120 en T110i)
Zapfen:

Table of Contents

Related product manuals