EasyManua.ls Logo

Rosemount 3144 - Page 71

Rosemount 3144
119 pages
Print Icon
To Next Page IconTo Next Page
To Next Page IconTo Next Page
To Previous Page IconTo Previous Page
To Previous Page IconTo Previous Page
Loading...
5-15
Specifications and Reference Data
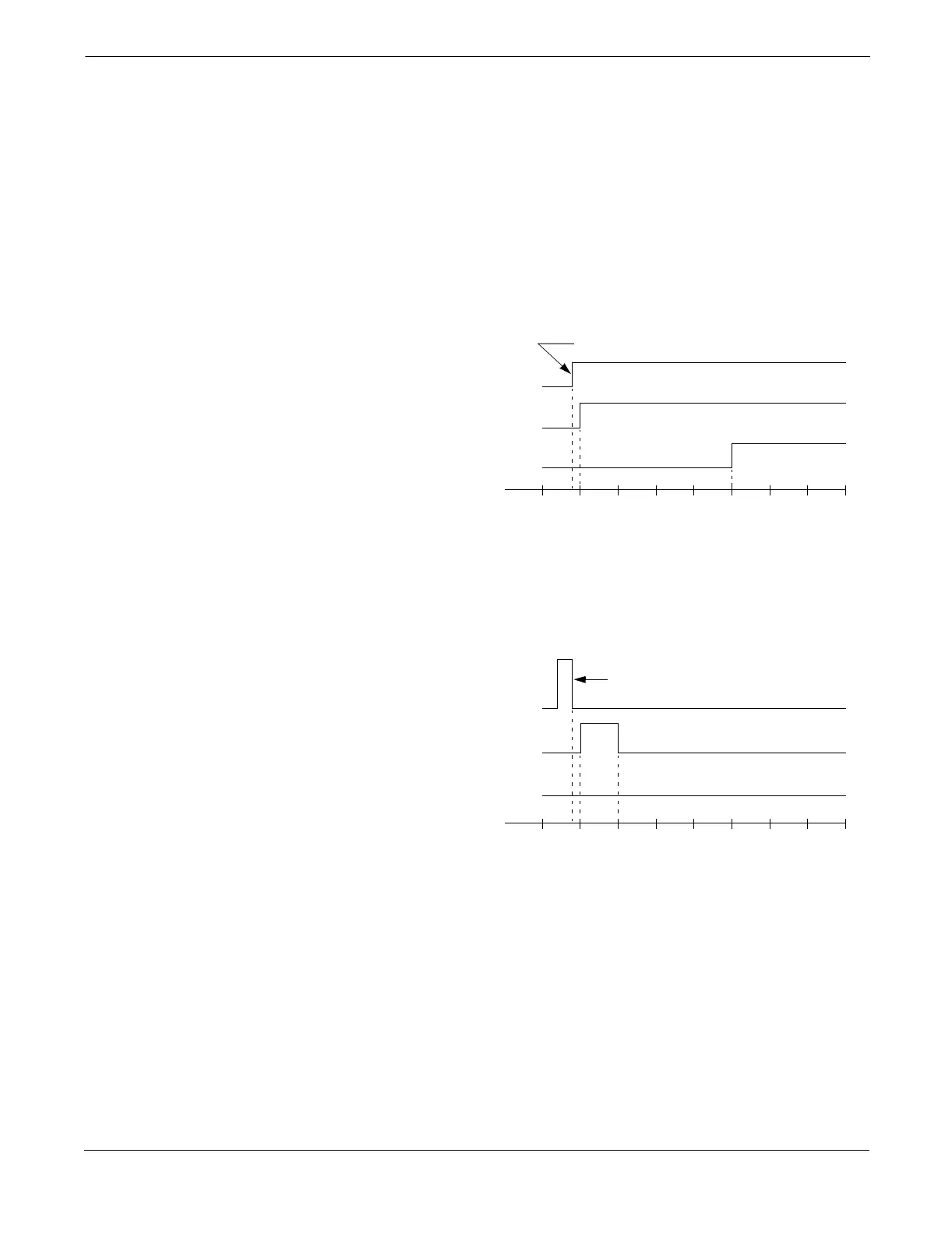
Case 2: Temperature Change Greater than the Threshold Value
If the algorithm detects a process temperature change greater than
the threshold value, but which is not a true open sensor condition,
the transmitter will go into a hold period. During the hold period,
the transmitter determines whether or not this temperature
measurement is valid by using three additional measurement
points. In the meantime, the output remains unchanged at the
initial reading (Time = 0 ms).
a. If these next three readings are within the new threshold
value (at Time = 500 ms), this measurement is validated. The
output changes to reflect this, and the transmitter is no longer
in a hold period. In this case, the output delay is 1.75 to 2.00
seconds.
b. If the reading drops back within the original threshold value
(at Time = 0 ms) during the hold period, the transmitter
interprets the reading(s) outside the threshold value as a
spike, and the output changes to reflect the latest reading. The
transmitter is no longer in a hold period, and the spike is not
seen at the output.
Time (in Microseconds)
Step Change Greater
than Treshold Value
Input
Output without
Algorithm
Output with
Algorithm
(Default)
0 500 1000 2000 2500 3000 3500 40001500
Time (in 500 ms increments)
Input
Output without
Algorithm
Output with
Algorithm
(Default)
0 500 1000 2000 2500 3000 3500 40001500
ChangeGreater Than
Threshold Value

Table of Contents

Related product manuals