EasyManua.ls Logo

Sharp XE-A303 - Displaying Transaction Subtotals

Sharp XE-A303
104 pages
Print Icon
To Next Page IconTo Next Page
To Next Page IconTo Next Page
To Previous Page IconTo Previous Page
To Previous Page IconTo Previous Page
Loading...
38
By default, the cash register is preprogrammed to PLU mode, and all of the 1800 codes are set to PLU mode
and zero for unit price.
For more information on PLU/subdepartment programming, refer to “PLU (Price Look-Up) and Subdepartment
Programming” on page 22.
• PLU entries
• Subdepartment (open PLU) entries
* Less than the programmed upper limit
amounts
When zero is entered, only the sales
quantity is added.
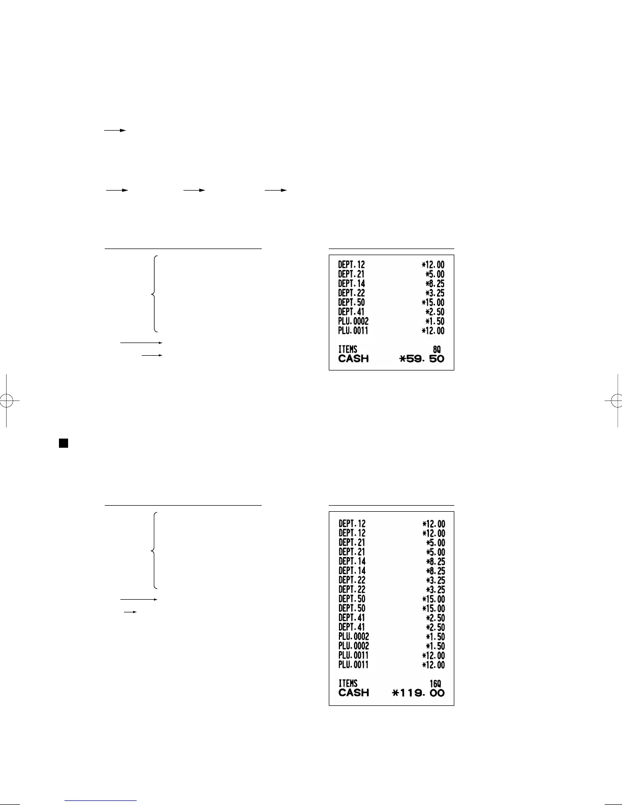
Repeat entries
You can use this function for entering a sale of two or more of the same items. Consecutive pressing of a
department key,
d
key or
p
key is as shown on key operation example below.
1200
500 D ¡ ¡
® ®
D
50 d 1500 d d
41 d d
2 p p
11 p 1200 p p
A
Subdepart-
ment entry
PLU entry
Department entry
Receipt printKey operation example
Subdepartment
entry
PLU entry
Department entry
1200
500 D ¡
®
D
50 d 1500 d
41 d
2 p
11 p 1200 p
A
Receipt printKey operation example
PLU code
(1 to 1800)
p
Unit price *
(max. 8 digits)
p
p
PLU code
(1 to 1800)
A303_2(En) 06.7.22 9:21 AM Page 38

Table of Contents

Other manuals for Sharp XE-A303

Related product manuals