EasyManua.ls Logo

Sharp XE-A303 - Finalizing Transactions

Sharp XE-A303
104 pages
Print Icon
To Next Page IconTo Next Page
To Next Page IconTo Next Page
To Previous Page IconTo Previous Page
To Previous Page IconTo Previous Page
Loading...
39
Part2
FOR THE OPERATOR
Part3Part1
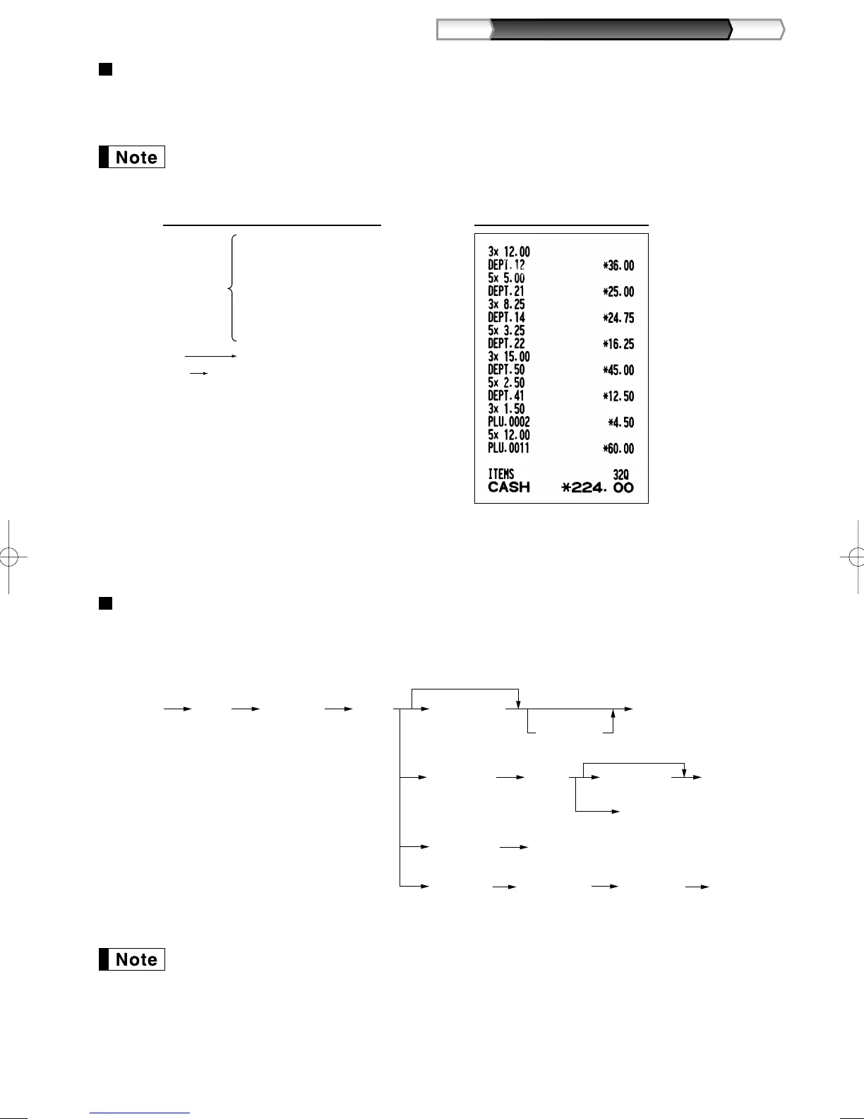
Multiplication entries
When selling a large quantity of items, it is convenient to use the multiplication entry method. Enter quantity
using numeric keys and press the
@
key before starting item entry as shown in the example below.
When programmed to allow fractional quantity entries, you can enter up to four integers and three
digit decimal, though the quantity is counted as one for sales reports. To enter a fractional quantity,
use the decimal point key between integer and decimal, as
7P5
for entering 7.5.
Split pricing entries
You will use this function when your customer wants to purchase more or less than the base quantity of a loose
item. To make split pricing entries, follow the procedure below:
• If you live in Australia, please change the printing format for this function. Please refer to "Other
programming" (Job code 68) of "Various Function Selection Programming 1" on page 73.
• When programmed to allow fractional quantity entries, you can enter up to four integers and three
digit decimal. To enter a fractional quantity, use the decimal point key between integer and
decimal, as
7P5
for entering 7.5.
Selling q'ty
(Up to 4 digits)
Base q'ty
(Up to 2 digits)
Unit price
per base q'ty
When using a programmed unit price
@ @
Department key
D
Dept. code
(1 to 99)
d
PLU code
(1 to 1800)
p
PLU code
(1 to 1800)
p
Unit price
per base q'ty
(In case only preset price
entry is allowed.)
d
Unit price
per base q'ty
p
3 @ 1200
5 @ 500 D ¡
3 @ ®
5 @ D
3 @ 50 d 1500 d
5 @ 41 d
3 @ 2 p
5 @ 11 p 1200 p
A
Subdepart-
ment entry
PLU entry
Department entry
Receipt printKey operation example
A303_2(En) 06.7.22 9:21 AM Page 39

Table of Contents

Other manuals for Sharp XE-A303

Related product manuals