EasyManua.ls Logo

Sharp XE-A303 - Finalization of Transaction; Cash or Cheque Tendering; Cash or Cheque Sale that Does Not Require Tender Entry

Sharp XE-A303
104 pages
Print Icon
To Next Page IconTo Next Page
To Next Page IconTo Next Page
To Previous Page IconTo Previous Page
To Previous Page IconTo Previous Page
Loading...
41
Part2
FOR THE OPERATOR
Part3Part1
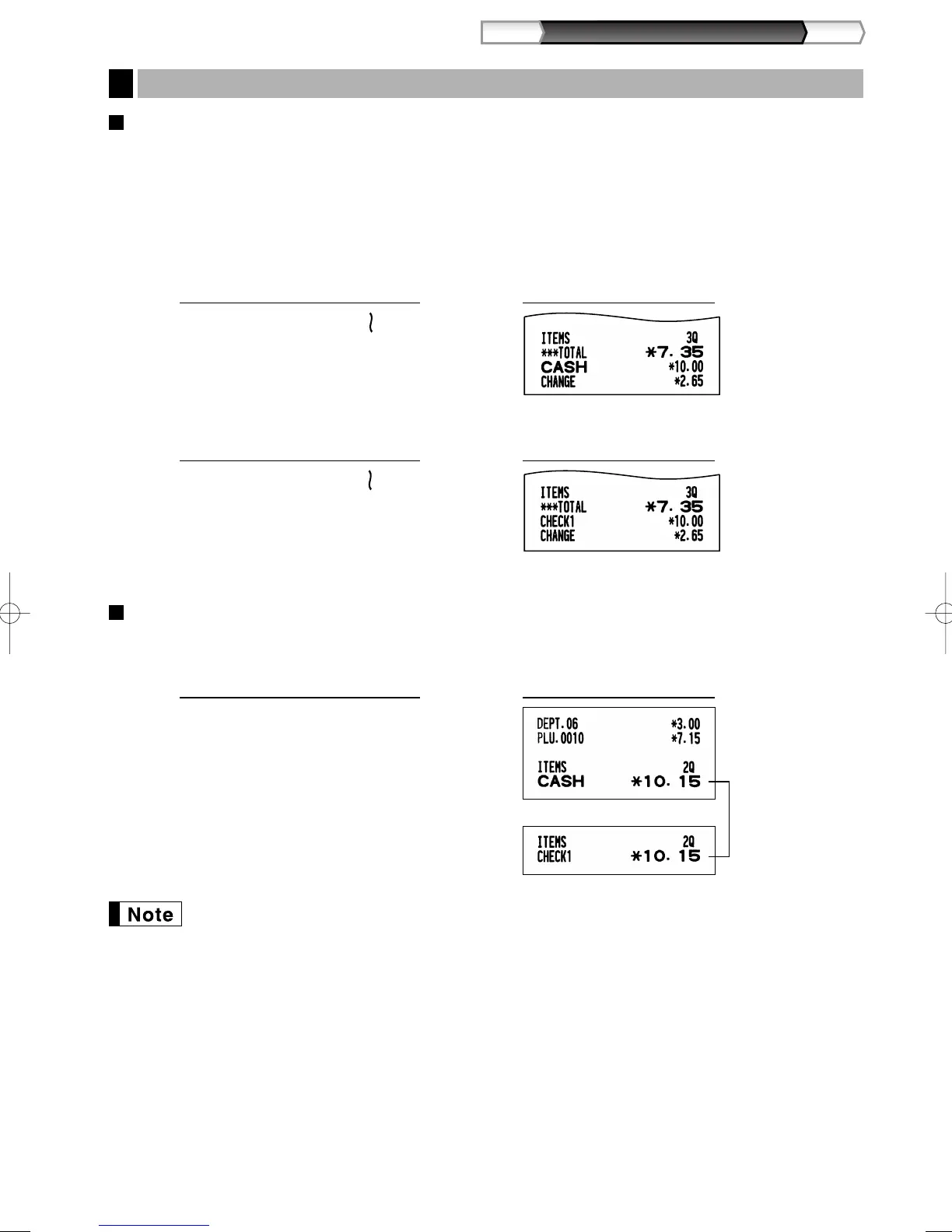
Cash or cheque tendering
Press the
s
key to get a subtotal, enter the amount tendered by your customer, then press the
A
key
if it is a cash tender or press a cheque key (
X
or
Y
)
if it is a cheque tender. When the amount tendered is
greater than the amount of the sale, the register will show the change due amount with the function message
“CHANGE”. Otherwise the register will show a deficit with the function message “DUE”. You now must make a
correct tender entry.
Cash tendering
Cheque tendering
Cash or cheque sale that does not require tender entry
Enter items and press the
A
key if it is a cash sale or press a cheque key if it is a cheque sale. The
register will display the total sale amount.
When programmed not to allow “direct non-tender finalization after tendering” (Job code 63, refer to
page 71), you must always enter a tender amount.
In the case of cheque 1 sale
300
§
10
p
A
Receipt printKey operation example
s
1000 X
Receipt printKey operation example
s
1000 A
Receipt printKey operation example
Finalization of Transaction
5
A303_2(En) 06.7.22 9:21 AM Page 41

Table of Contents

Other manuals for Sharp XE-A303

Related product manuals