EasyManua.ls Logo

Sharp XE-A303 - VAT and Tax Computation

Sharp XE-A303
104 pages
Print Icon
To Next Page IconTo Next Page
To Next Page IconTo Next Page
To Previous Page IconTo Previous Page
To Previous Page IconTo Previous Page
Loading...
40
Single item cash sale (SICS) entry
• This function is useful when a sale is for only one item and is for cash. This function is applicable only to those
departments that have been set for SICS or to their associated PLUs or subdepartments.
• The transaction is complete and the drawer opens as soon as you press the department key,
d
key or
p
key.
If an entry to a department or PLU/subdepartment set for SICS follows the ones to departments or
PLUs/subdepartments not set for SICS, it does not finalize and results in a normal sale.
The subtotal is displayed by pressing the
s
key. When you press it, the subtotal of all entries which have
been made is displayed with the function message “SUBTOTAL”.
Subtotal will not be printed on a receipt on the current factory setting. If you want to print it, change
the setting by programming. Refer to “Receipt print format” (Job code 7) on page 69.
Displaying Subtotals
4
For finishing
the transaction
250
¡
Receipt printKey operation example
When Australian printing format
is selected
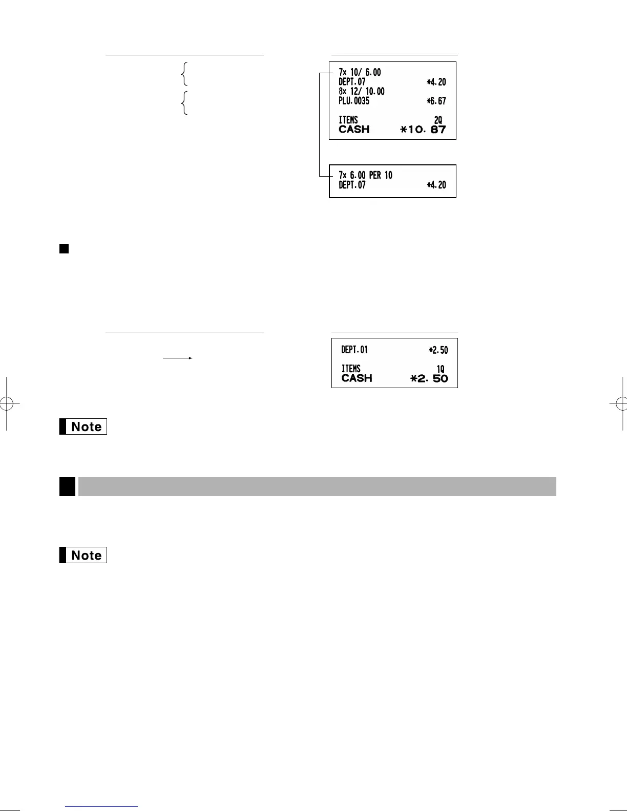
Department entry
PLU entry
7 @ 10 @
600
8 @ 12 @
35 p
A
Receipt printKey operation example
A303_2(En) 06.7.22 9:21 AM Page 40

Table of Contents

Other manuals for Sharp XE-A303

Related product manuals