EasyManua.ls Logo

Sharp XE-A303 - Register Number and Consecutive Number Setup

Sharp XE-A303
104 pages
Print Icon
To Next Page IconTo Next Page
To Next Page IconTo Next Page
To Previous Page IconTo Previous Page
To Previous Page IconTo Previous Page
Loading...
67
Part3
FOR THE MANAGER
Part2Part1
ADVANCED FUNCTION PROGRAMMING
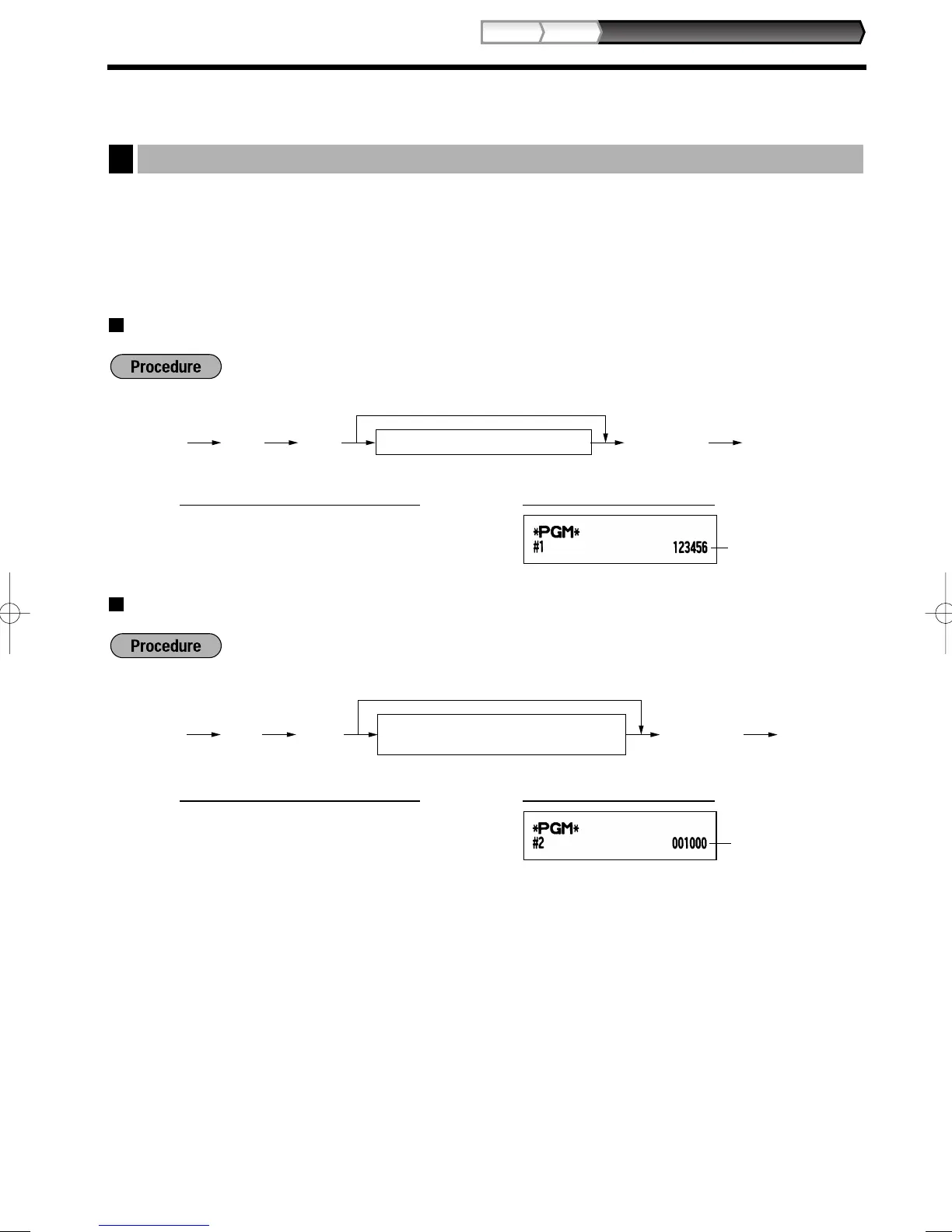
The register number and consecutive numbers are printed on every receipt or journal.
When your store has two or more registers, it is practical to set separate register numbers for identification. The
consecutive number is increased by one each time a receipt is issued or when a journal print occurs.
For consecutive number programming, enter a number (max. 6 digits) that is one less than the desired starting
number.
Register number
Consecutive number
Consecutive
number
s
2
@
1000
sA
PrintKey operation example
@
s
A
A number (one to six digits) that is one
less than the desired starting number
To begin the count from 000001
s2
Register number
s
1
@
123456
sA
PrintKey operation example
s A
Register number (one to six digits)
To set the register number 0
@s1
Register Number and Consecutive Number Programming
1
A303_3(En) 06.7.22 4:41 PM Page 67

Table of Contents

Other manuals for Sharp XE-A303

Related product manuals