EasyManua.ls Logo

Sony RM-YD017 - 1-7. H1 AND H3 BOARD REMOVAL; 1-8. UB1 REMOVAL

Sony RM-YD017
149 pages
Print Icon
To Next Page IconTo Next Page
To Next Page IconTo Next Page
To Previous Page IconTo Previous Page
To Previous Page IconTo Previous Page
Loading...
16
KDL-40XBR4/40XBR5/46XBR4/46XBR5
KDL-40XBR4/40XBR5/46XBR4/46XBR5
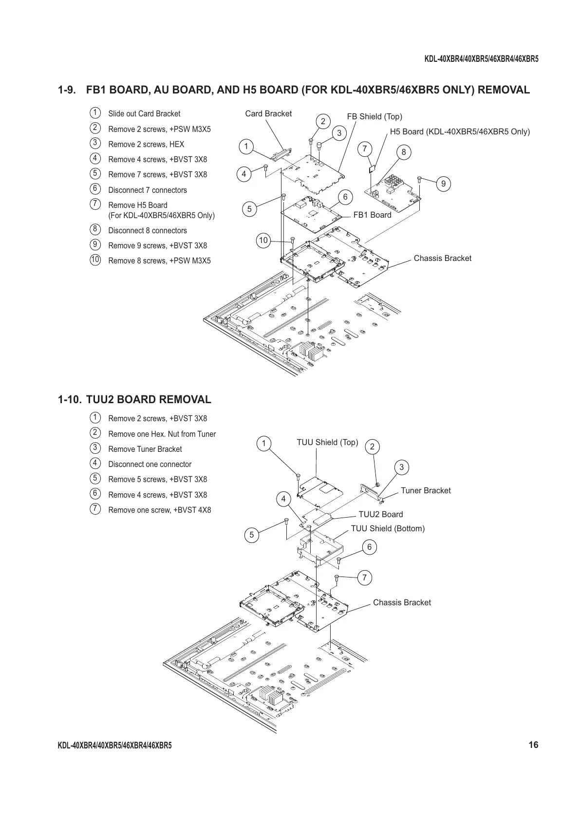
1-9. FB1 BOARD, AU BOARD, AND H5 BOARD (FOR KDL-40XBR5/46XBR5 ONLY) REMOVAL
1
Slide out Card Bracket
2
Remove 2 screws, +PSW M3X5
3
Remove 2 screws, HEX
4
Remove 4 screws, +BVST 3X8
5
Remove 7 screws, +BVST 3X8
6
Disconnect 7 connectors
7
Remove H5 Board
(For KDL-40XBR5/46XBR5 Only)
8
Disconnect 8 connectors
9
Remove 9 screws, +BVST 3X8
10
Remove 8 screws, +PSW M3X5
1-10. TUU2 BOARD REMOVAL
1
Remove 2 screws, +BVST 3X8
2
Remove one Hex. Nut from Tuner
3
Remove Tuner Bracket
4
Disconnect one connector
5
Remove 5 screws, +BVST 3X8
6
Remove 4 screws, +BVST 3X8
7
Remove one screw, +BVST 4X8
2
4
3
5
7
1
6
Chassis Bracket
TUU Shield (Top)
TUU Shield (Bottom)
TUU2 Board
Tuner Bracket
4
1
2
3
8
7
9
5
6
10
H5 Board (KDL-40XBR5/46XBR5 Only)
FB1 Board
FB Shield (Top)
Card Bracket
Chassis Bracket
All manuals and user guides at all-guides.com

Table of Contents

Related product manuals