EasyManua.ls Logo

Sony SRG-XP1 - Adjusting the Camera; Shooting with Back Lighting; Storing the Camera Settings in Memory; Preset Feature

Sony SRG-XP1
71 pages
Print Icon
To Next Page IconTo Next Page
To Next Page IconTo Next Page
To Previous Page IconTo Previous Page
To Previous Page IconTo Previous Page
Loading...
24
Adjusting the Camera
Shooting with back lighting
When you shoot a subject with a light source
behind it, the subject becomes dark. In such
cases, press the BACK LIGHT button.
To cancel the function, press the BACK LIGHT
button again.
Note
The BACK LIGHT button is enabled when MODE
(Exposure mode) on the EXPOSURE menu is set
to [FULL AUTO] (Full auto) or [SHUTTER Pri]
(Shutter priority).
Storing the Camera
Settings in Memory
Preset Feature
Settings, including the camera position and
zoom can be stored in a preset.
You can also store presets from the Administrator
menu on a web browser. For details, see “[Preset
position] tab” (page 57).
Note
Up to 256 presets are supported. The number of
presets that are supported will vary depending
on the device used.
For the RM-IP500 (sold separately), up to 100.
For the RM-IP10 (sold separately), up to 16.
For the infrared remote commander (supplied
with SRG-XP1), up to 6.
For a web browser, up to 256.
For details on the settings that can be stored, see
“Preset Items” (page 64).
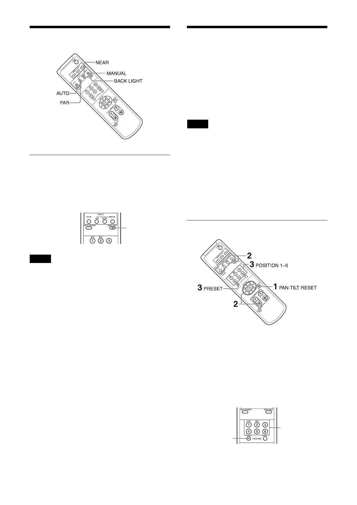
Storing the camera status
1 Press the PAN-TILT RESET button to reset
the pan/tilt position.
2 Adjust the position and zoom of the
camera (see page 23).
3 Hold down the PRESET button and press
any of the POSITION buttons, 1 to 6, in
which you want to store the settings.
Subject appears
brighter.
While holding
down
Press the button
you want to set.

Table of Contents

Related product manuals