EasyManua.ls Logo

Sophysa Pressio PSO-PB - 1 Indications; 2 Contra-Indications; 3 Description and Operating Principle for Parenchymal Pressio Kits with Bolt

Sophysa Pressio PSO-PB
74 pages
Print Icon
To Next Page IconTo Next Page
To Next Page IconTo Next Page
To Previous Page IconTo Previous Page
To Previous Page IconTo Previous Page
Loading...
5/74
Re a d t h e i n s t R u c t i o n s f o R u s e c a R e f u l l y b e f o R e i mp l an t i ng t h e d e v i c e .
Indications 1.
The use of a Pressio® monitoring kit is indicated in patients requiring continuous
monitoring of intracranial pressure.
In addition, the PSO-PBT model enables the intracranial temperature to be read.
No t e :
t
h e t e m p e R a t u R e a n d p R e s s u R e v a l u e s i n d i c a t e d o n pR e s s i o ® m o n i t o R i n g s y s t e m s d o n o t
pRejudje t h e h e a l t h s t a t u s o f t h e p a t i e n t .
Contra-indications 2.
Contra-indications to the use of a Pressio® kit are the following:
- established or suspected infections in the tissues in direct contact with
monitoring system components (meningitis, ventriculitis, septicemia
or bacteremia) or any infection present in any part whatsoever of the body
- patients on anticoagulant therapy or presenting with bleeding diathesis
In addition, in young children xation using a bolt is contraindicated because
the bony plate of the skull is not suciently thick.
Wa r N i N g :
d
o n o t u s e t h e pRe s s i o ® m o n i t o R i n g k i t i f t h e R e a R e n o tR a i n e d p e R s o n n e l a v a i l a b l e
t o R o v i d e c o n t i n u o u s s u R v e i l l a n c e .
Description and Operating Principle 3.
for parenchymal Pressio® kits with bolt
The Pressio® monitoring catheters are single use implantable devices.
The Pressio® monitoring catheters are of the “ BF ”
type.
Only use with a Pressio® monitoring system.
Pr e c a u t i o N :
o
n l y c o n n e c t pR e s s i o ® c a t h e t e R s t o c a l i b R a t e d pR e s s i o ® e q u i p m e n t .
Pressio® ICP monitoring kit, parenchymal with bolt PSO-PB (Figure 1):
The PSO-PB kit makes continuous monitoring of the intracranial pressure possible.
It has a 1m long catheter with a diameter of 2.1Fr. At its end is a 1.2mm diameter
capsule enclosing a piezoresistive pressure sensor of the silicon strain gauge type
designed to be placed in the cerebral parenchyma.
Pressio® ICP & ICT monitoring kit, parenchymal with bolt PSO-PBT (Figure 2):
The PSO-PBT kit makes continuous monitoring of intracranial pressure and
temperature possible.
It has a 1m long catheter with a diameter of 2.1Fr equipped with a 1.2mm capsule at
its end, enclosing a piezoresistive pressure sensor of the silicon strain gauge type and
a thermistor temperature sensor, designed to be placed in the cerebral parenchyma.
The two kits can be distinguished visually by their respective markings
on the catheter connector.
In both cases, the catheter has centimetric graduation over 10cm from the proximal
end, as well as a marker at 15cm.
The end of the catheter opposite the capsule has a connector which makes it possible
to connect the catheter to a Pressio® monitoring system (PSO-3000 or PSO-IN00)
via a catheter extension cable (PSO-EC20).
The catheter extension cable transmits the measurement signals in the form
of analogue signals from the sensor(s) to the Pressio® monitoring system.
The catheter also exchanges a digital signal containing data, such as sensor
calibration, value and date on which the pressure sensor was zeroed,
with the Pressio® monitoring system.
This data is memorized in the catheter connector and is thus independent
of the Pressio® monitoring system used.
Pr e c a u t i o N :
d
o n o t a l l o w t h e c o n n e c t o R t o c o m e i n t o c o n t a c t w i t h li q ui d .
The capsule enclosing the sensor(s) is made of titanium and the catheter sheath
is made of polyamide.
The entire length of the catheter is radiopaque.
The Pressio® monitoring kits parenchymal with bolt are latex- and phthalate-free
products.
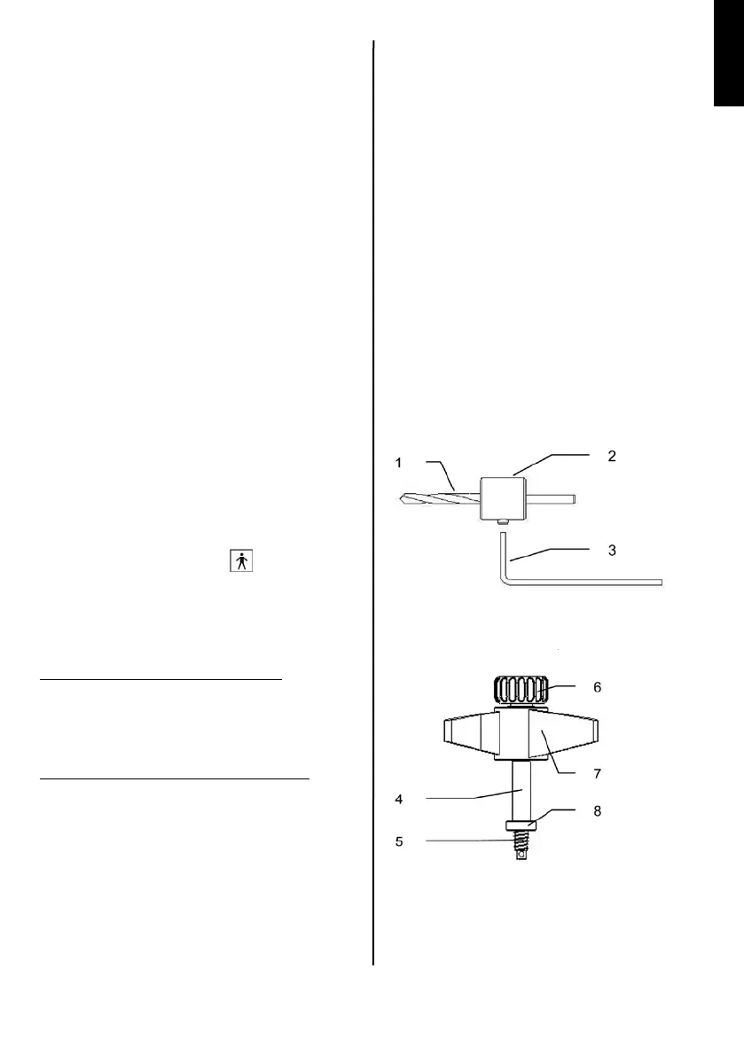
The PSO-PB and PSO-PBT Pressio® monitoring kits make it possible to x
the parenchymal catheter using a bolt [4].
The drill bit [1] allows intracranial access.
It has a diameter (2.7mm) adapted to the screw thread [5] of the bolt.
An adjustable stop [2] makes it possible not to exceed the chosen drilling depth.
The Allen wrench [3] enables the position of this stop on the drill bit to be adjusted.
The bolt [4] allows the introduction and xation of the catheter in the parenchyma.
The tab [7] makes it possible to screw the bolt into the skull bone.
The clamping nut [6] makes it possible to x the catheter at the desired depth
in the parenchyma. The nut must therefore be unscrewed beforehand to introduce
the catheter through the bolt.
ENGLISH

Table of Contents