EasyManua.ls Logo

Spartan 1065 - 3;4 Cable

Spartan 1065
63 pages
Print Icon
To Next Page IconTo Next Page
To Next Page IconTo Next Page
To Previous Page IconTo Previous Page
To Previous Page IconTo Previous Page
Loading...
Page 36
3/4” Inner-Core
3/4” No-Core
3/4” No Tension Inner-Core
(Loose wound for “P” Traps)
Dia - Lth Part No
3/4" x 25' 03442101
3/4" x 50' 03442102
3/4" x 75' 03442103
3/4" x 100' 03442105
3/4" x 110 03442106
3/4" x 2' 04214010
Dia - Lth Pa rt No
3/4" x 25' 04209901
3/4" x 50' 04209902
3/4" x 75' 04209903
3/4" x 100' 04209905
3/4" x 110 04209906
3/4" x 2' Trap Leader
Dia - Lth Part No
3/4" x 25' 03442501
3/4" x 50' 03442502
3/4" x 75' 03442503
3/4" x 100' 03442505
3/4" x 110 03442506
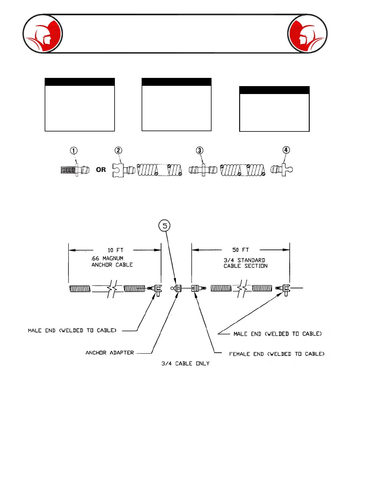
(1) = Long Male Coupling 44120500 (4) = Male Coupling 02795000
(2) = Female Coupling 44053400 (5) = Anchor Adapter 44291500
(3) = Splicer 44120600
Part Number Listing (For 3/4" Cable)
3/4” Cable

Other manuals for Spartan 1065

Related product manuals