EasyManua.ls Logo

Steca coolcept3 - Page 41

Steca coolcept3
80 pages
Print Icon
To Next Page IconTo Next Page
To Next Page IconTo Next Page
To Previous Page IconTo Previous Page
To Previous Page IconTo Previous Page
Loading...
NOTICE!
P % cannot be changed at the first and last
nodes (000 %, 100 %).
1.
Press rs to select a parameter for the node.
2. Press SET.
ð
The parameter value flashes.
3.
Press rs to change the value.
4. Press SET.
ð
The change is adopted.
5. Repeat steps 1 to 4 for the other parameters.
6. Press ESC.
The check list is shown.
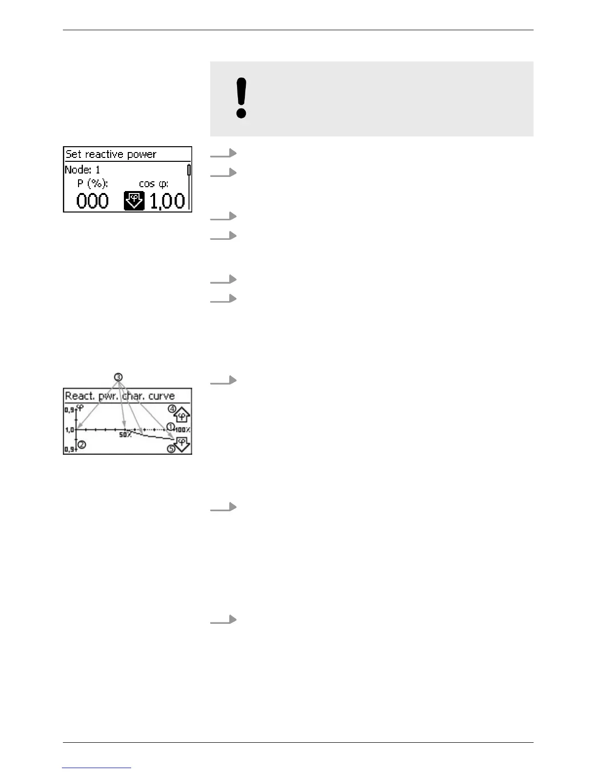
1. The previously set reactive power characteristic curve is dis-
played graphically (example in Fig. left).
x-axis, output power P in %
y-axis, phase shift cos φ
Nodes (in example: 4 nodes)
Arrow symbol Overexcitation
Arrow symbol Underexcitation
2. Press ESC
The check list is shown.
Finish has been selected in the check list and SET has been
pressed. One of 2 possible dialogues is displayed.
1. Proceed as follows, depending on the respective dialogue:
n Dialogue Settings are incomplete: Press SET and
work through the open items in the check list.
n Dialogue Are all settings correct?:
Press ESC to correct settings or
Node n
Display char. curve
Finish
EN
750.661 | Z03 | 2016-09-12
41

Related product manuals