EasyManua.ls Logo

Steca coolcept3 - General operating functions; Important operating functions

Steca coolcept3
80 pages
Print Icon
To Next Page IconTo Next Page
To Next Page IconTo Next Page
To Previous Page IconTo Previous Page
To Previous Page IconTo Previous Page
Loading...
5.2 General operating functions
n Hidden content is shown using the r and s buttons.
n Repeated button presses: If rs need to be pressed repeatedly,
you can alternatively hold these buttons pressed for a long
time. The rate of repetition increases the longer the button is
held.
n Pressing any button switches on the display backlighting
5.3 Important operating functions
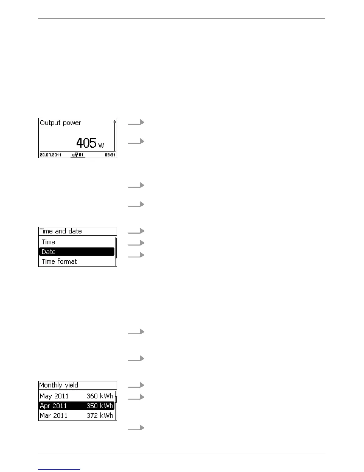
The figures in this section show examples.
1. If necessary
, press ESC for 1 second to call up the status dis-
play (Fig. left).
2.
Press rs to display a different parameter
.
1. Press ESC for 1 second to call up the status display as
required.
2. Press SET.
ð
The main menu is displayed with the top item selected.
3.
Press rs to select a menu item.
4. Press SET to call up the submenu (Fig. left).
5. Repeat steps 3 and 4 for further submenus as required.
See
Ä
„Event messages“ on page 51.
The status display is shown.
1. Press SET.
ð
The main menu is displayed with Yield selected.
2. Press SET.
ð
The list with yield time periods is shown.
3.
Press rs to select a yield time period.
4. Press SET.
ð
The individual yields for the yield time period are shown
in a list (Fig. left).
5.
Press rs to select an individual yield value.
Status display
Menu navigation
Event messages
Displaying entries numer-
ically (list) and graphi-
cally (diagram)
EN
750.661 | Z03 | 2016-09-12
47

Related product manuals