EasyManua.ls Logo

STIEBEL ELTRON WPF 5

STIEBEL ELTRON WPF 5
48 pages
To Next Page IconTo Next Page
To Next Page IconTo Next Page
To Previous Page IconTo Previous Page
To Previous Page IconTo Previous Page
Loading...
12
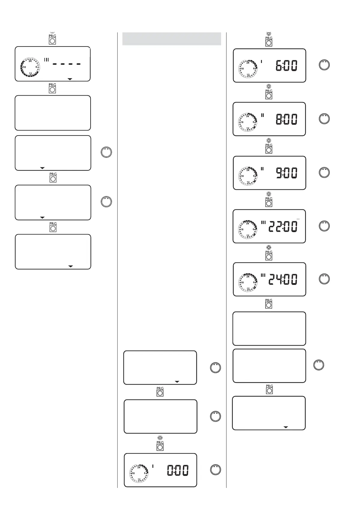
DHW programs
The DHW PROG menu item enables you to ad-
just the times for the day and night tempera-
tures for DHW heating.
You can adjust your DHW heating as follows:
for each individual day of the week
(Monday, ..., Sunday)
Monday to Friday (MON - FRI)
– Saturday and Sunday (SAT - SUN)
the whole week (MON - SUN)
You can adjust three switching time pairs (I, II,
III) for each of these options.
Exception:
You will need two switching time pairs, if you
want to heat DHW from 22:00 h until 06:00 h
the following day. This determines, when and
how often the heat pump system should heat/
load DHW in day mode. You will already have
selected the corresponding set values for day
and setback mode under the DHW TEMP sys-
tem parameter.
Example:
You want to heat up DHW daily at two different
times, i.e. from 22:00 h until 06:00 h the fol-
lowing day, and then again from 08:00 h until
09:00 h.
The day begins at 00:00 h; therefore begin
programming for this example at 00:00 h. The
first switching times pair runs from 00:00 until
06:00 h. The second switching times pair runs
from 08:00 until 09:00 h. The third switching
times pair runs from 22:00 until 24:00 h.
Open the control flap.
Heating START 21C
SAT _ SUN
BACK
BACK
HTG PROG
DHW PROG
MON _ SUN
DHW START 45C
DHW STOP 45C
DHW START 45C
DHW STOP 45C
DHW START 45C
DHW STOP 45C
MON _ SUN
Back
DHW PROG

Table of Contents

Related product manuals