EasyManua.ls Logo

SubGear XP-H - Functions at the Surface

Default Icon
56 pages
Print Icon
To Next Page IconTo Next Page
To Next Page IconTo Next Page
To Previous Page IconTo Previous Page
To Previous Page IconTo Previous Page
Loading...
26
Functions during the dive / Functions at the surface
5 Functions at the surface
5.1 End of a dive
After reaching the surface (<0.8m/3ft) XP-H remains in dive mode for 5
minutes. The delay allows for surfacing for a short period for orientation.
After 5 minutes the dive is closed and it is entered into the logbook. The time
of day is then displayed for 3 minutes, after which the computer turns off.
!
WARNING
For the calculations of the desaturation and no-fly time it is assumed
that the diver breathes air while on the surface.
5.2 Residual nitrogen bar graph
The segments in the residual nitrogen bar graph will gradually turn off as XP-H follows the offgassing
of your tissues during your surface interval. There is a 1:1 equivalence in the meaning of the segments
between diving and surface. Thus, on a repetitive dive the bar will resume from its status on the surface
just prior to the dive. There are two exceptions however:
the uppermost segment will stay lit until the desaturation time is completely extinguished. This is
done to show that there is desaturation time left and that a dive started at this point will be logged
as a repetitive dive. If the remaining desaturation time is very short, this segment could however at
first disappear during the dive;
during the 24 hours of an SOS-lock, all segments will stay on.
5.3 Desaturation time, No-fly time and No-dive warning
5 minutes after a dive XP-H shows the time of day, the "do not fly time", the
no-dive warning (if applicable), the current altitude range and the prohibited
altitude range (->28).
No-fly time is the time in hours that should pass before a flight and is
displayed and adjusted until the value becomes 0 hours.
!
WARNING
Flying while XP-H displays "do not fly" may lead to serious injury or
death from decompression sickness.
!
WARNING
If the "no-dive" warning is visible during the surface interval, the diver should not undertake
another dive.
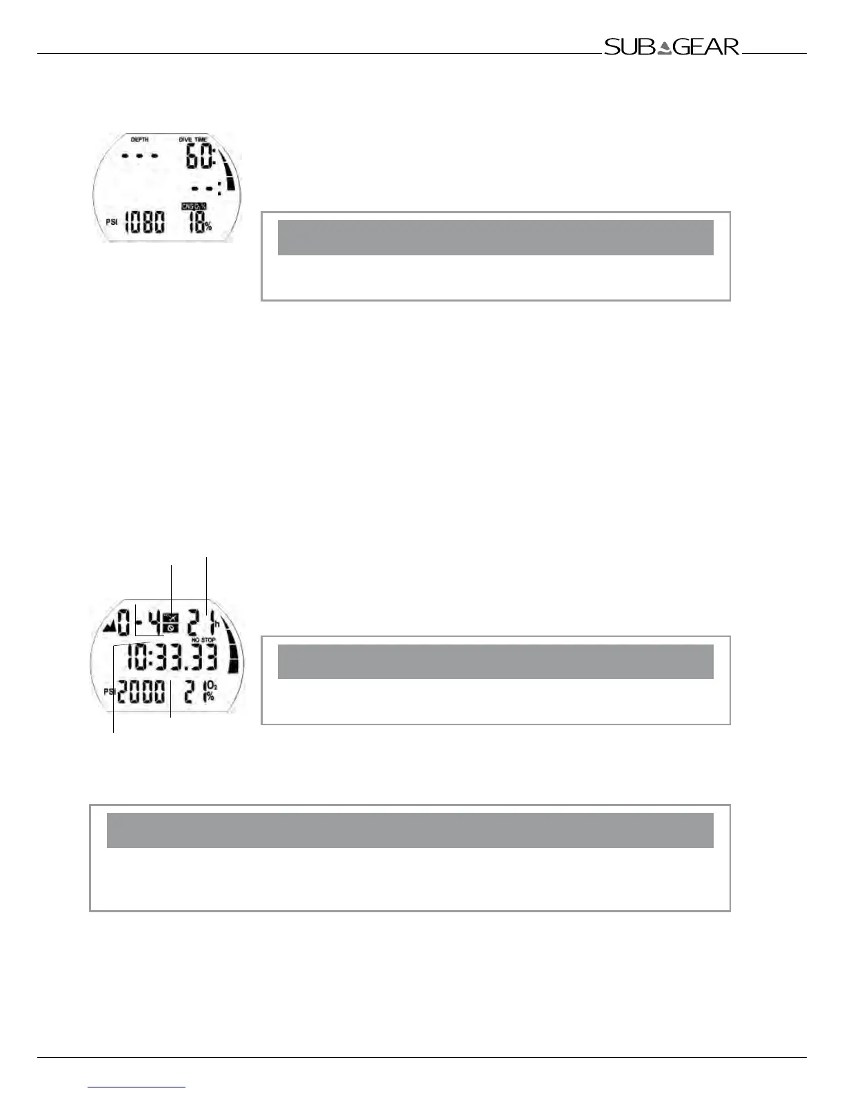
Depth less than 0.8m (3ft)
Time of day
Residual nitrogen bar
Ascent to altitude
range 4 prohibited
Do not fly icon
No-fly time
No-dive
warning

Table of Contents

Related product manuals