EasyManua.ls Logo

SUNWARD SWE210F - Overall Machine View

SUNWARD SWE210F
216 pages
Print Icon
To Next Page IconTo Next Page
To Next Page IconTo Next Page
To Previous Page IconTo Previous Page
To Previous Page IconTo Previous Page
Loading...
56
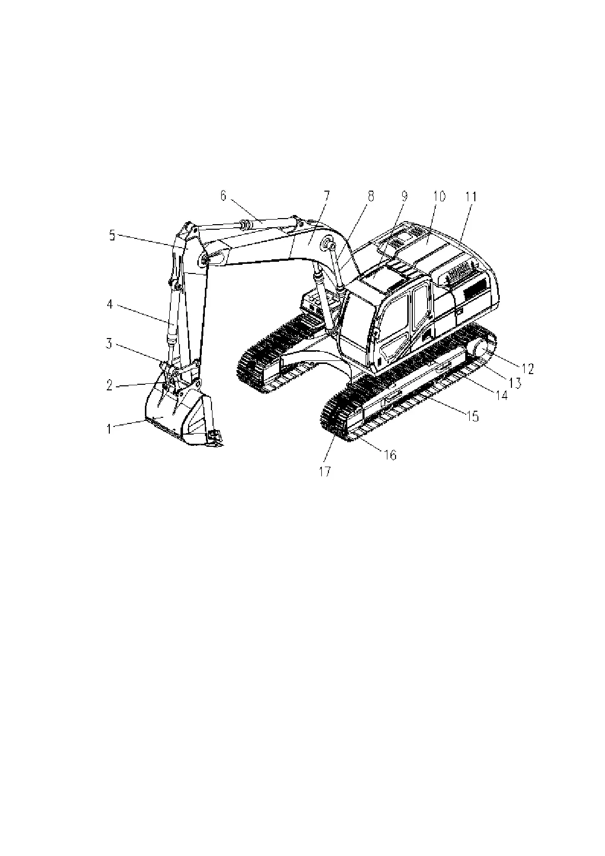
3.1 Overall machine view
To operate machine safely and properly, it’s crucial to fully understand the machine’s individual
structure and operation methods for controlling equipments, as well as the presented meaning.
1bucket 2bucket link 3idler link 4bucket cylinder
5arm 6arm cylinder 7boom 8boom cylinder
9cab 10engine cover 11counterweight 12travel motor
13sprocket 14carrier roller 15track roller 16idler roller
17track

Table of Contents

Related product manuals