EasyManua.ls Logo

SUNWARD SWE210F - Control and Gauges; View Illustration

SUNWARD SWE210F
216 pages
Print Icon
To Next Page IconTo Next Page
To Next Page IconTo Next Page
To Previous Page IconTo Previous Page
To Previous Page IconTo Previous Page
Loading...
57
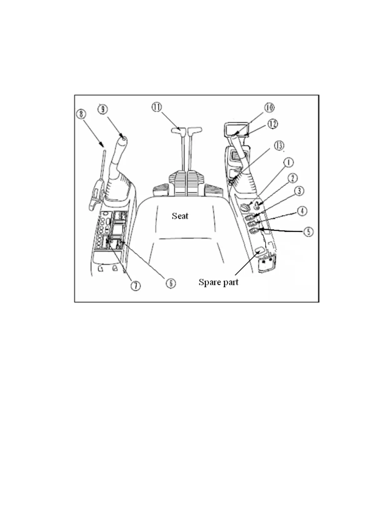
3.2 Control and gauges
3.2.1 View illustration
1throttle control button 8 pilot safety control lever
2start switch
9left pilot control handle (with manual idle
switch)
3 work light switch
10 right pilot control handle with horn
switch
4 wiper switch 11travel control lever
5 scrubber switch 12monitor
6 conditioner control panel 13cigar lighter
7 radio

Table of Contents

Related product manuals