EasyManua.ls Logo

Swegon COMPACT Unit - COMPACT Top

Swegon COMPACT Unit
74 pages
Print Icon
To Next Page IconTo Next Page
To Next Page IconTo Next Page
To Previous Page IconTo Previous Page
To Previous Page IconTo Previous Page
Loading...
GB.COMPACTUT.170622
Registered design. The company reserves the right to make design changes without prior notice.
www.swegon.com 5
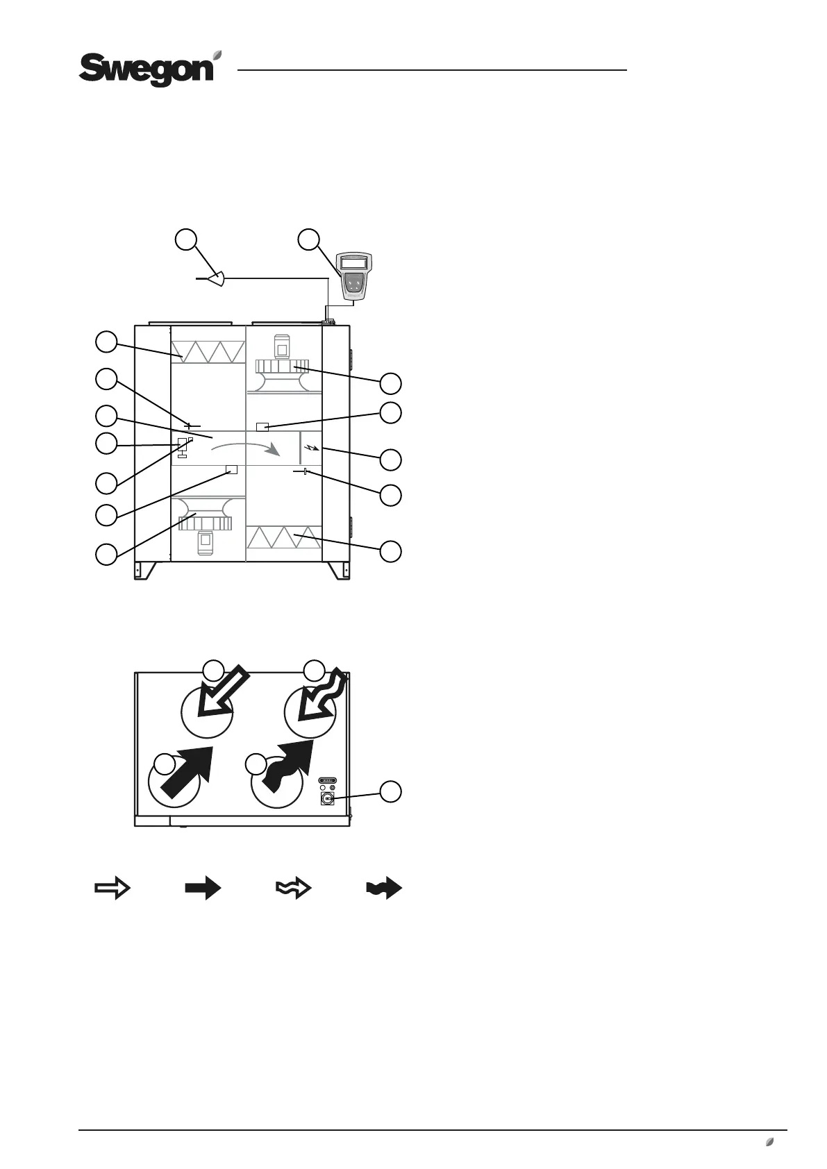
1.5.2 COMPACT Top
The individual components each specified below in a simplified
and diagrammatical description.
Outdoor air Supply air Extract air Exhaust air
The arrangement of the components
and their designations
1 Supply air fan with motor and motor control system
2 Pressure sensor, supply air fan
(Position on function selector switch = 2)
3 Rotation monitor sensor
4 Drive motor, rotary heat exchanger
5 Rotary heat exchanger
6 Sensor, outdoor air temperature
7 Supply air filter
8 Supply air temp. sensor (to be mounted in supply air duct)
9 Hand-held micro terminal
10 Extract air fan with motor and motor control system
11 Pressure sensor, extract air fan
(Position on function selector switch = 1)
12 Electrical equipm. cubicle with control unit
13 Sensor, extract air temperature
14 Extract air filter
15 OUTDOOR AIR
16 EXTRACT AIR
17 SUPPLY AIR
18 EXHAUST AIR
19 Main switch/Safety switch
View from the above
7
1615
1817
6
5
2
1
10
9
19
11
4
3
12
13
14
8

Table of Contents

Related product manuals