EasyManua.ls Logo

TallyGenicom 2248 - Page 26

TallyGenicom 2248
240 pages
Print Icon
To Next Page IconTo Next Page
To Next Page IconTo Next Page
To Previous Page IconTo Previous Page
To Previous Page IconTo Previous Page
Loading...
SETTING UP
2-8 User's Manual
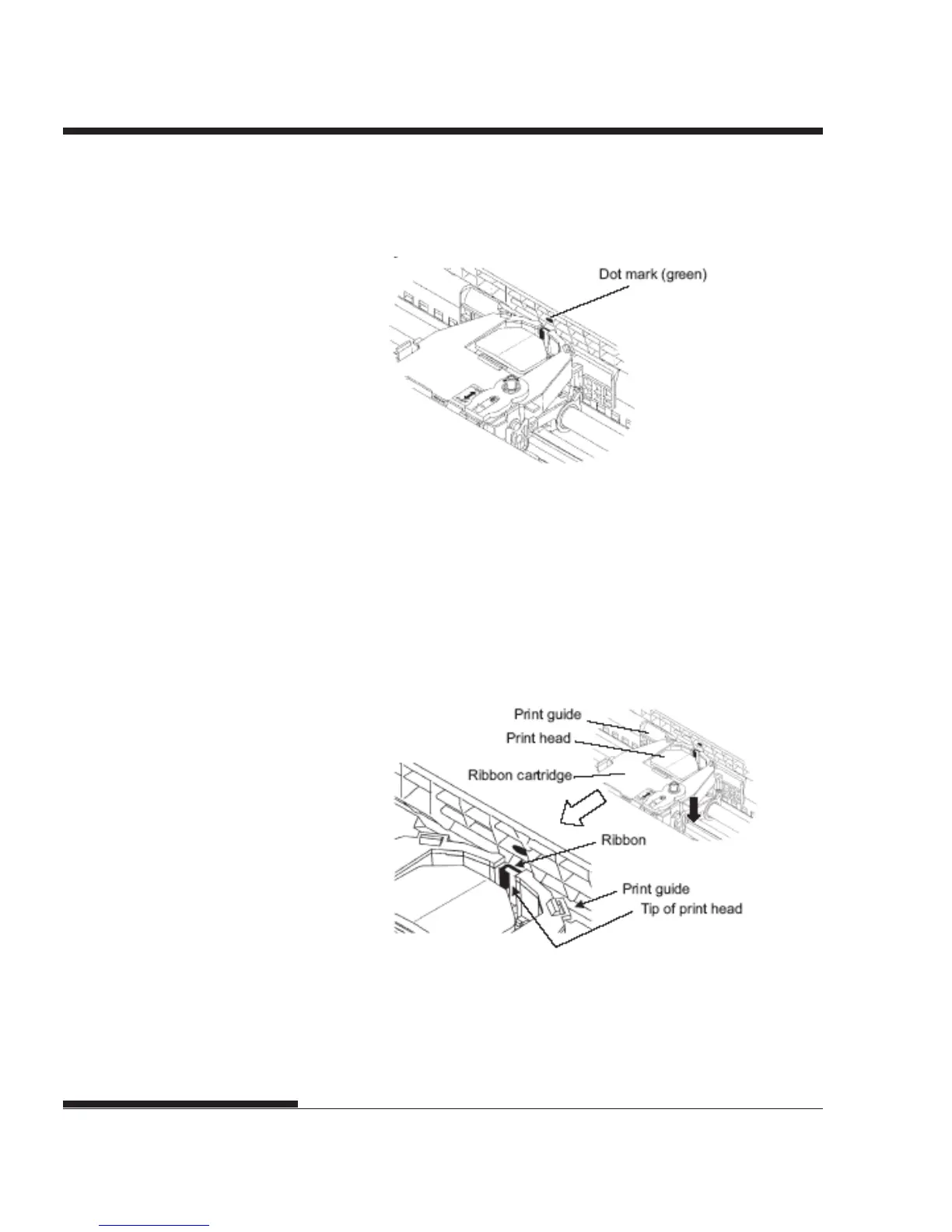
7. Align the print head position with the dot mark (green) on the printer
ejection cover.
WARNING
Avoid touching the print head while using or immediately after using
the printer, as doing so may lead to burns. Wait until the print head
cools down before touching it.
8. Thread the ribbon between the print head and the print guide, then
gently press down on the ribbon cartridge against the printer until it
clicks into place.
(Make sure that the ribbon feed knob is facing upward.)
9. Turn the ribbon feed knob clockwise to take up any ribbon slack.
10. After the ribbon cartridge has been installed in the printer, adjust the
paper thickness lever to match the thickness of the paper and the
number of sheets of paper to be used
For information about the paper thickness lever, see the section
entitled Adjusting the Paper Thickness in Chapter 3.

Table of Contents

Other manuals for TallyGenicom 2248

Related product manuals