EasyManua.ls Logo

Taylor C834 - Control A.-Upper - X73696-40 (C845 - 50 Hz)

Taylor C834
219 pages
Print Icon
To Next Page IconTo Next Page
To Next Page IconTo Next Page
To Previous Page IconTo Previous Page
To Previous Page IconTo Previous Page
Loading...
132
Parts
McDonald's Intelligap Grills
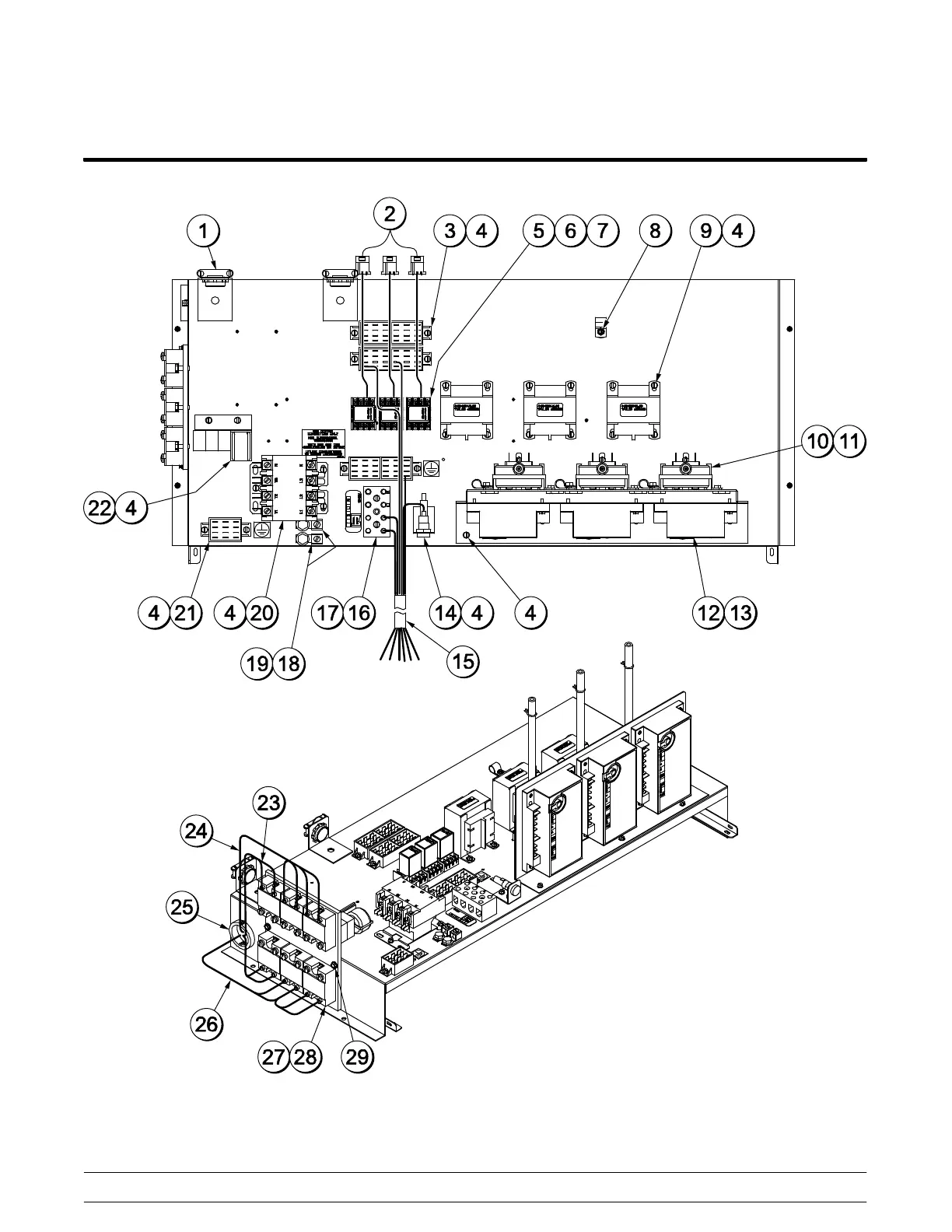
Control A.-Upper - X73696-40 (C845 - 50 Hz)
Figure 74

Table of Contents

Related product manuals