EasyManua.ls Logo

Teac RC-L800 - Deleting Whole Key Codes of a Device

Teac RC-L800
104 pages
Print Icon
To Next Page IconTo Next Page
To Next Page IconTo Next Page
To Previous Page IconTo Previous Page
To Previous Page IconTo Previous Page
Loading...
14
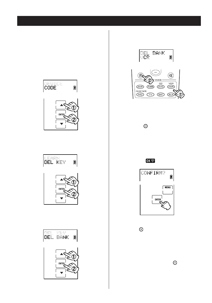
Deleting Key Code 2
Deleting Whole Key Codes of a
Device
1. Enter the setup mode.
2. Press
5 or b to select CODE and press
ENTER.
3. Press 5 or b to select DEL KEY and press
ENTER.
4. Press
5 or b to select DEL BANK and press
ENTER.
5. By pressing the device and page buttons,
select the screen page from which you wish
to delete all key codes.
If a page is selected, all key codes are deleted
from the device.
6. Press the button. A confirmation
message appears.
7. Press ENTER to delete.
< Press MENU to escape from deleting.
< When deleted, flashes briefly.
8. Press the button repeatedly to exit and
return to the previously displayed screen
layout.
Note:
< If at any point during setup you wish to exit from
the setup screens, press the button to go
back through the displayed screens one by one.
< If you delete a device by mistake you can re-
program the RC-L800/RC-L2 by following the
steps on page 8, Pre-programmed Code Setting,
or page 11, Learning a Device.

Table of Contents