EasyManua.ls Logo

Teac RC-L800 - Fonction de Macro 1; Réglage de Macros

Teac RC-L800
104 pages
Print Icon
To Next Page IconTo Next Page
To Next Page IconTo Next Page
To Previous Page IconTo Previous Page
To Previous Page IconTo Previous Page
Loading...
Fonction de macro 1
< Cette fonction vous permet de programmer 60
opérations à suivre sur une simple touche.
< Un intervalle de 110 secondes peut être réglé
entre chaque opération.
< En mode de fonctionnement, vous pouvez
afficher les touches pour lesquelles un macro a
été affecté en maintenant pressée la touche
MACRO. Quand vous maintenez pressée la
touche MACRO, seules les touches pour
lesquelles un macro a été affecté apparaissent
sur laffichage.
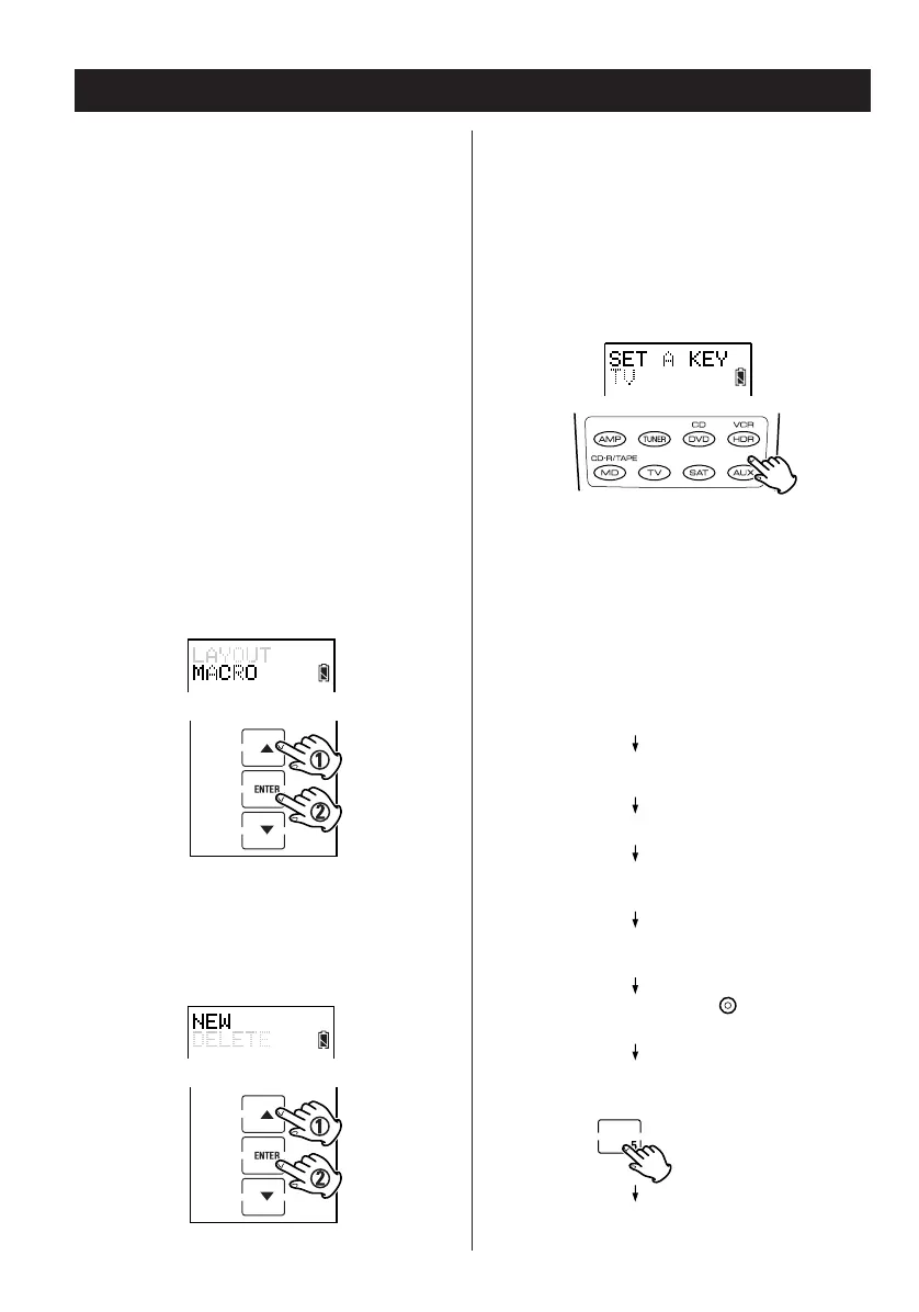
Réglage de macros
1. Entrez en mode de réglage.
2. Appuyez sur
5 ou b pour choisir MACRO et
appuyez sur ENTER.
3. Appuyez sur
5 ou b pour choisir NEW et
appuyez sur ENTER.
4. Une fois quun appareil et quune page ont
été choisis en appuyant sur les touches
dappareil et de page, choisissez et appuyez
sur la touche vide à laquelle vous souhaitez
affecter un macro. Quand vous appuyez sur
la touche, trois bips sonores retentissent.
Si la touche choisie possède déjà un code de
touche ou un macro, celui-ci est remplacé par
le nouveau macro.
Commencez à définir le macro:
Exemple:
Téléviseur-Mise sous tension w Téléviseur-
TV/Video
w Lecteur de DVD-Mise sous tension
(intervalle de 5 secondes)
w Lecteur de DVD-
Lecture
Appuyez sur la touche d'appareil du
téléviseur.
Appuyez sur la touche d'alimentation
du téléviseur.
Appuyez sur la touche TV/VIDEO.
Appuyez sur la touche d'appareil du
lecteur de DVD.
Appuyez sur la touche d'alimentation
du lecteur de DVD.
Appuyez sur la touche pour
choisir l'intervalle.
Appuyez sur [5] pour choisir un
intervalle de 5 secondes.
Appuyez sur la touche de lecture du
lecteur de DVD.
50

Table of Contents