EasyManua.ls Logo

Teac RC-L800 - Cambio del Nombre de un Dispositivo

Teac RC-L800
104 pages
Print Icon
To Next Page IconTo Next Page
To Next Page IconTo Next Page
To Previous Page IconTo Previous Page
To Previous Page IconTo Previous Page
Loading...
Configuración de un dispositivo 2
94
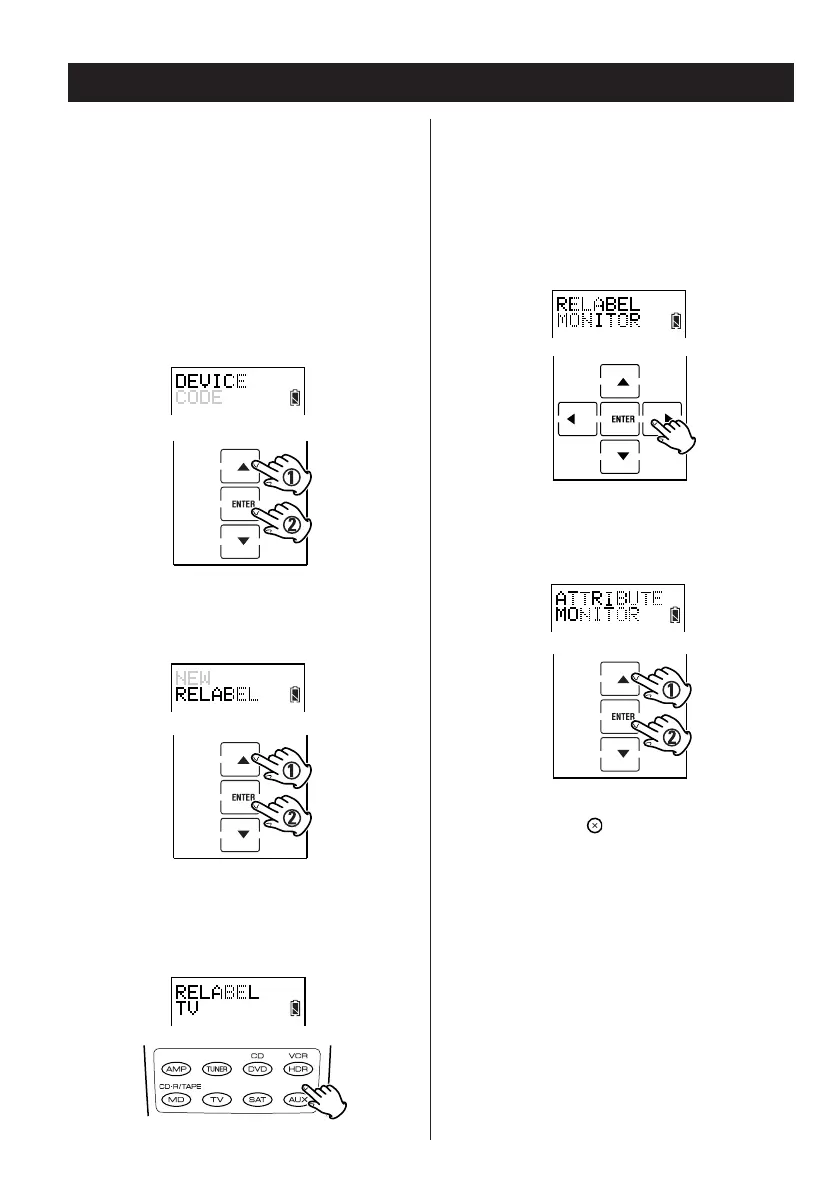
Cambio del nombre de un
dispositivo
Puede cambiar el nombre de un dispositivo
después de definirlo.
1. Seleccione el modo de configuración.
2. Pulse
5 o b para seleccionar DEVICE y
pulse ENTER.
3. Pulse
5 o b para seleccionar RELABEL y
pulse ENTER.
4. Pulse el botón de dispositivo para
seleccionar el dispositivo que desea
renombrar.
5. Edite la etiqueta del dispositivo y pulse
ENTER.
Para editar la etiqueta:
Pulse g o t para mover el cursor.
Pulse
5 o b para desplazar a través de los
caracteres:
A Z, /, ?, , 0 9 y espacio.
6. Pulse 5 o b para seleccionar el atributo
del dispositivo y pulse ENTER.
7. Pulse el botón repetidamente para salir
y volver a la disposición de pantalla
visualizada previamente.

Table of Contents