EasyManua.ls Logo

Tektronix 370B - Page 145

Tektronix 370B
216 pages
Print Icon
To Next Page IconTo Next Page
To Next Page IconTo Next Page
To Previous Page IconTo Previous Page
To Previous Page IconTo Previous Page
Loading...
GPIB
370B User Manual
4-21
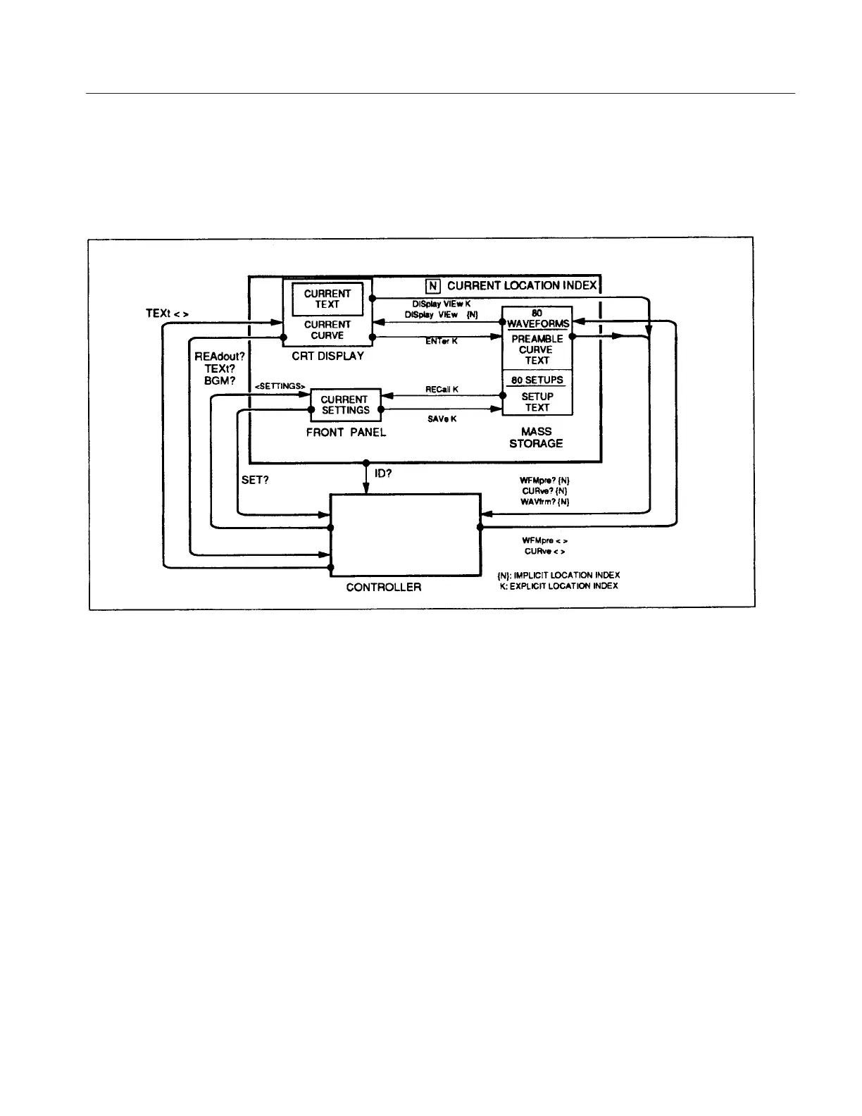
There are several kinds of data and, as demonstrated in the previous paragraphs,
they differ in content and format. There are a number of ways to move these
various kinds of data from place to place, as shown in Figure 4–7.
370B CURVE TRACER
Figure 4-7: Data transfers under GPIB control
Summary of Data
Transfers

Table of Contents